Преимущества колпаковой печи
Если сравнивать кузнецовую печь с другими кирпичными аналогами, то она имеет огромную устойчивость к деформации. Она быстро нагревается и при этом долго сохраняет тепло. Даже при неплотно закрытой заслонке, образовавшееся тепло может долго сохраняться в такой печи.
- длительная эксплуатация;
- малое образование копоти и сажи (она практически полностью сгорает, превращаясь в золу);
- КПД – до 80%;
- легкая конструкция, которую можно осилить даже новичку;
- усовершенствованная система нагрева по сравнению с канальным аналогом;
- простая и практичная в уходе – нет необходимости часто ее чистить;
- не трескается;
- универсальность возведения (в доме, квартире, бане и т.д.)
- большой выбор формы и дизайна;
- не нужно брать в расчет высоту дымохода для обеспечения хорошей тяги;
- высокая скорость растопки;
- конструкция позволяет установить большой нагревательный элемент;
- происходит равномерный прогрев печи;
- печь дольше остывает по сравнению со своими кирпичными прототипами.

Розжиг «Кузнецовки»
Достоинства и недостатки

Принцип движения горячего воздуха в колпаковой печи
У кузнецовских конструкций много достоинств. Одним из них является повышенный КПД – 93 процента. Для сравнения – в русских печах он около 80. При этом у «кузнецовок» равномерная теплоотдача, меньше колебания температуры.
Другие плюсы конструкции:
- Сажи не остается, в связи с чем печку и дымовой канал можно не очищать несколько лет, что значительно упрощает уход.
- Устройство можно возвести в любом месте – в угловой зоне, в середине помещения, близ стенки. Зачастую двухколпаковая печь обогревает несколько этажей дома на одной закладке.
- Печной дымоход возможно укоротить для экономии кирпича.
- «Кузнецовка» без проблем совмещается с плитой, камином, лежанкой, отличаясь многообразием модификаций.
- К печке несложно подсоединить водяной контур и пустить по трубам нагретую воду для купания или отопления.
- Благодаря повышенному уровню пиролиза экономится топливо, которое может быть любым.
- Кладка прослужит дольше, меньше опасность возникновения трещин.
- При недолго открытой задвижке практически невозможно выстудить печку, ведь колпак всегда наполнен теплым воздухом, а холодный прижимается книзу.
По какому принципу работает колпаковая печь
Перед тем, как выбирать данную отопительную систему, как основную, вам нужно понять, как работает данная печь. Сама конструкция колапаковой печи отличается маленькими размерами, что позволяет продуктам сгорания двигать без препятствий.

- Основной отличительной особенностью такой печи от обычных, канальных видов, является процесс дымоотвода.
- Данный процесс проходит с помощью выталкивания дыма и газа, что позволяет печи производить намного больше тепла.
- Этот способ дымоотвода также позволяет снизить риски задуваний огня, а также риска утечки угарных газов, которые могут отравить организм человека.


Связано это с тем, что тепловая энергия лучше аккумулируется. Один дымоотвод (внешний) выполняет функцию отвода дыма наружу, а второй является внутренним, что и помогает уменьшить скорость движения газов и вывода их наружу.
Практические шаги
В настоящей статье мы затронем только основы практической кладки. Помочь разобраться в вопросе более детально позволит знакомство с видео, которые в избытке имеются в интернете.
Например, здесь:
Если вы хотите разобраться в вопросе всесторонне и приступить к работе «во всеоружии», рекомендуем приобрести какой-либо учебник по кладке печей. Например, Симаков В.Г. «Печи, камины, барбекю». Москва, ЭКСМО, 2011 год.
На сайте И.В.Кузнецова, в разделе колпаковые печи, чертежи (именуемые порядовками) на печи любого назначения, мощности и комплектации доступны для ознакомления и скачивания без ограничений.
Материалы
Если вы планируете класть печь по одному из существующих проектов, то вам следует получить на неё два документа: спецификацию, в которой перечислены все необходимые материалы в варианте: название материала / марка/ потребное количество/ средняя цена на рынке. Последний пункт требуется уточнять на дату принятия решения о кладке печи.
Как правило, независимо от выбранного варианта будущей колпаковой печи, для её возведения потребуется приобрести:
- Мастику огнеупорную (специальная сухая смесь для кладки шамотного кирпича);
- Огнеупорный кирпич (шамотный);
- Керамический одинарный полнотелый кирпич (от М150 и выше);
- Материалы для приготовления кладочных растворов: цемент, глина, песок;
- Фанера многослойная листовая для опалубки;
- Лист стальной для пола перед топочной дверцей;
- Арматура и армирующая проволока;
- Уголок стальной;
- Брус строганый деревянный;
- Печная фурнитура (задвижки, дверки, вьюшки);
- Фольга металлизированная;
- Варочная панель (если плита отопительно-варочная);
- Решётка колосниковая.
Инструмент
Чтобы иметь возможность выполнить любую технологическую операцию в процессе изготовления кирпичной колпаковой печи мастеру потребуется:
- Электродрель со специальной насадкой, либо миксер строительный;
- Пила дисковая;
- Болгарка ;
- Кусачки и плоскогубцы;
- Кельмы (мастерок);
- Лопата совковая;
- Уровень (лучше лазерный).
У профессионального печника этот перечень значительно длиннее. Здесь перечислен только основной инструмент.
В идеале кладкой печи следует озаботиться на стадии строительства дома. Это гораздо проще, дешевле и эффективнее.
Однако современные технологии позволяют вписать печь в готовый дом. Подобная работа требует больше времени и расходов, а также проведения дополнительных расчётов.
В заключение настоящей статьи предлагаем вам фотоотчёт о кладке двухколпаковой отопительно-варочной печи Кузнецова. С приложением порядовок и вертикальных разрезов.
Удачной работы!
Преимущества и недостатки колпаковой печи
Кирпичная колпаковая печь отличается набором положительных моментов, создающих ей отменную репутацию среди других видов устройств:
- Экономичность и простота. В процессе строительства требуется сравнительно небольшое количество материалов для работы, что считается одним из основных критериев при выборе типа постройки.
- Легкая система конструкции. Процесс возведения печи не предусматривает сложных механизмов, поэтому справиться с задачей под силу даже начинающему строителю.
- Простота в обслуживании. Небольшая печь шведка из кирпича не сильно прихотлива в уходе благодаря удобной конструкции.
- Высокая скорость работы. Конструкция отличается высоким прогревом, как следствие — за минимальный срок способна подарить тепло помещению.
- Разнообразие в оформлении. Каждый может самостоятельно подобрать наиболее подходящий вариант дизайна печи.
При этом двухколпаковая печь колчина имеет некоторые недостатки, которые рекомендуется принимать во внимание до начала строительных работ:
- Отсутствие возможности струевого ввода потока воздуха при недостаточно нагретой трубе и ограниченной тяги.
- В отличие от канальной конструкции, в колпаковой печи нагрев происходит с неравномерным дожигом.
- Большой объем потребляемого топлива является существенным недостатком. Однако, если учитывать некоторые особенности процесса топки, затрат можно избежать.
Фундамент для печи Кузнецова
Чтобы своими руками возвести фундамент, необходимы следующие инструменты и материалы:
- штыковая и совковая лопата;
- раствор цементный (на три части песка должна приходиться одна часть цемента);
- песок;
- прут армирующий, имеющий средний размер;
- опалубка деревянная;
- плёнка полиэтиленовая.

Сперва необходимо выкопать яму желаемого периметра. Далее, нужно насыпать пятнадцать сантиметров песка на дно ямы и оставить все на два дня, для того чтобы песок осел. Это позволит сделать печь более устойчивой. Рекомендуется, чтобы опалка была из фанеры, но можно воспользоваться и старыми дверьми, ненужными досками и другими деревянными изделиями. Это никак не скажется на конечный результат строительства.
Зачастую для армирования используются прутья, имеющие среднюю толщину, однако не запрещается использовать более тонкие прутья. Раствор необходимо заливать медленно. Чтобы удалить лишний воздух из раствора, его нужно часто перемешивать лопатой. После того как заливка закончена, нужно оставить раствор и дать ему затвердеть. Обычно раствор твердеет в течение недели, однако бывает, что для полного затвердения приходиться ждать две и три недели. Не стоит торопиться в этом деле, потому что оттого насколько прочным будет фундамент зависит надёжность печки.опубликовано econet.ru
P.S. И помните, всего лишь изменяя свое потребление – мы вместе изменяем мир! econet
Подготовительные работы
Прежде чем приступить к строительству, выбирают место и определяют конструкцию и расположение дымохода (как в помещении, так и на крыше). После этого можно начинать работы по обустройству основания печи. Если отопительный агрегат возводится вместе с домом, то заливают общий фундамент. В случае когда печь кладут в жилом помещении необходимо удалить часть пола, которая приходится на «кузнецовку». При этом внешний контур основания печи должен быть на 10–15 см больше его габаритов.

Для обустройства фундамента делают углубление 20–25 см, на дно которого насыпают песчаную подушку толщиной 10 см, которую проливают водой и утрамбовывают. После этого на высоте 5 см укладывают армирующую сетку, по внешнему периметру устанавливают опалубку и заливают конструкцию бетоном. Приступать к кладке можно сразу же после его полного схватывания, которое в зависимости от температуры происходит примерно за 2–3 суток.
Кроме заливки основания, перед началом кладки потребуется подготовить раствор. Для этого берут чистую глину и просеянный речной песок. Глину высыпают в большую металлическую ёмкость, разминают и замачивают в небольшом количестве воды. После того как она хорошо раскиснет, добавляют песок и доводят консистенцию раствора до состояния очень густой сметаны. Чаще всего печники используют пропорцию 3 части глины на 1 часть песка, но правильное соотношение компонентов зависит от типа глины — чем выше её жирность, тем больше потребуется добавлять песка (вплоть до соотношения 2:1).
Приступая к работе, лучше распечатать порядовки на бумаге, в процессе строительства зачёркивая каждый уложенный ряд
Особое внимание уделяют местам установки футеровочного слоя — на схемах они выделяются пунктиром или другим цветом. Учтите, что если вместо огнеупорного материала будет использован обычный кирпич, то такая печь будет не только недолговечной, но и малопроизводительной
Принцип работы колпаковой печи
Колпаковая печь Кузнецова (в народе именуемая «Кузнецовка») получила название в честь своего создателя – И.В. Кузнецова, который занялся разработкой новой схемы отопления еще в начале 60-х годов прошлого столетия. Уникальная технология «свободного движения горячих газов» сразу же получила признание и стала пользоваться большой популярностью во всем мире.
Колпаковая печь Кузнецова: принцип работы
Особенность «Кузнецовки» заключается в том, что нагретые газы проходят и циркулируют по трубе благодаря собственной силе тяжести, в отличие от «принудительного» движения по дымоходу. Все мы знаем из уроков физики, что теплый воздух поднимается вверх, вытесняя холодный. Но, в отличие от канальных прототипов, здесь тепло не выходит из трубы, а собирается под колпаком. Постепенно он там остывает, и его вытесняют порывы борее горячего воздуха, поднимающиеся вверх.
Основным отличием канальной печи от колпаковой считается принцип движения горячего газа. В первой – дым как-бы вытягивается по трубе вверх, а в колпаковой – выталкивается. Сам колпак может служить емкостью для нагрева воды, приготовления пищи, сушилки и т.д. Таким образом, колпаковая печь может выполнять двойную функцию.
Печь «Кузнецовка»
То есть по функциональной характеристике, «кузнецовки» можно разделиться на:
- банные печи;
- печи для приготовления еды (хлебные, варочные, под казан, барбекю, гриль и т.д.);
- камин;
- печи для отопления;
- комбинированный тип.
Самыми распространенными являются именно комбинированные типы с возможностью приготовления еды и обогревом всего дома. Несмотря на возможность вариации стиля и формы, принцип действия колпаковой печи остается неизменным.
Схема движения газов в печи
Чтобы легче было понять основной принцип работы печи Кузнецова, представьте костер, разожженный на открытом воздухе. Из-за неограниченного доступа воздуха к огню, костер дает небольшое тепло. А теперь попробуем этот костер накрыть металлическим колпаком, оставив небольшой просвет снизу, чтобы совсем не загасить пламя. Горячий воздух пойдет вверх, нагревая стенки. Постепенно охлаждаясь, воздух начнет опускать к оставленному проему в то время, как его место занимает новая порция горячего воздуха. Это и есть принцип свободного движения горячих газов, который И.В. Кузнецов успешно применил в своей разработке.
Особенности конструкции
Сегодня в Сети можно найти более 150 разновидностей конструкции, но какой бы формы, стиля исполнения они ни были, все печи построены по одной методике. Конструктор, создавая схему кладки колпаковой печи, ставил перед собой две задачи: продуктивность и эффективность отопительной системы.
Возвести такую конструкцию не так-то просто. Необходимо четко придерживаться разработанной Кузнецовым И.В. порядовки
Изобретатель большую роль и внимание уделяет расположению внутренних каналов колпаковой печи
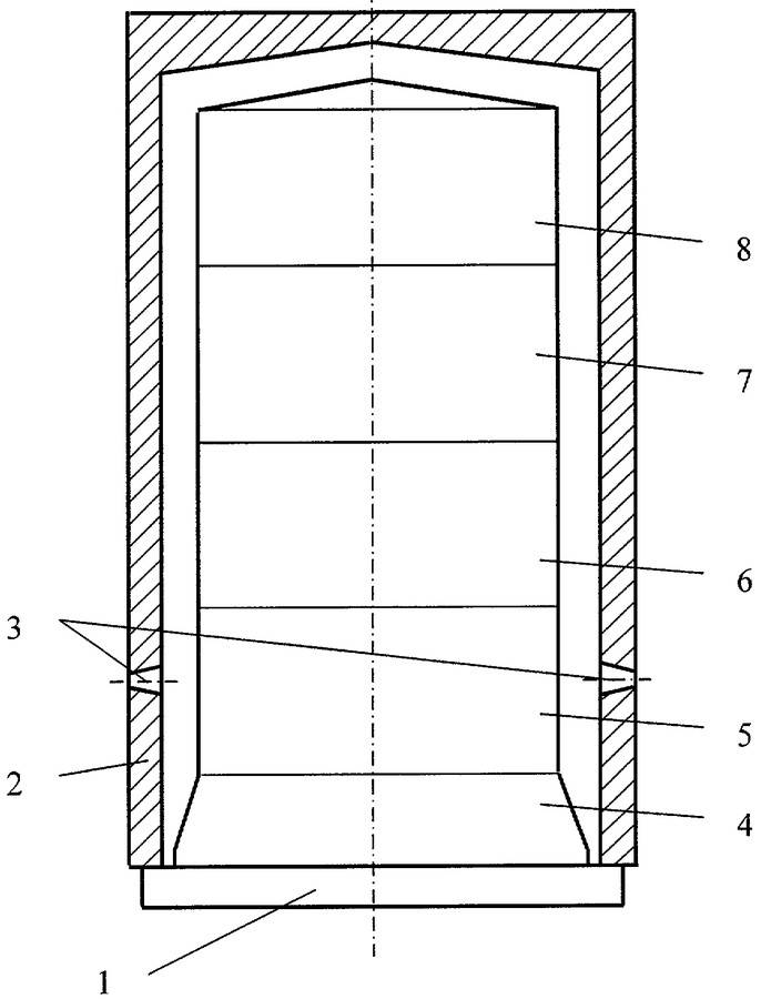
Колпак представляет собой отдельную камеру для задержки нагретого газа, что способствует экономии топлива и повышению КПД работы печи.
Стандартная конструкция «кузнецовки» предполагает наличие двух колпаков. Нижний объединен с топочной камерой, а второй колпак находится в верхней части печи. Задача первого колпака – разделить газы на холодные и горячие потоки. Именно это выгодно отличает колпаковую печь от канальной, где нагретый воздух, под действием тяги, свободно выходит наружу. Здесь же, горячий поток газа, выходящий из топки, стремится вверх, где задерживается под первым колпаком и долго аккумулирует тепло.
Дальше, поток стремится через проход во вторую камеру, где тоже задерживается под вторым потолком, так как проход находится у основания. Вследствие этого, горячий воздух, прежде, чем выйти по дымоходу, долго аккумулирует тепло в печи. Это дает высокий КПД – до 95 %. Если сравнить с эффективностью работы традиционной русской печи (канальной), то это больше на 45-50%.
Кроме свободного движения газа, колпаковая печь предполагает и механическое управление потоками. Для этого в конструкции устанавливаются задвижки. Они, по мере необходимости, могут задерживать и перенаправлять горячие потоки. «Летняя» задвижка предназначена для теплого времени года, когда печь используется в качестве варочной поверхности для приготовления еды. Открыв летнюю задвижку, поток горячего воздуха устремится вверх по дымоходу, не заходя под второй колпак.
Колпаковая печь для отопления дома
Формирование второго уровня
Продолжают кладку обычным способом, заборная пластина фиксируется с одной стороны раствором. В 19 ряду необходимо установить в центре дымосборника кирпич, который станет колонной под крышу печки. Нужно оставить за плитой пазуху шириной в один кирпич. Работают по тому же принципу до 21 уровня.
Не забываем про вытяжку
Теперь перекрывают канал, который ведет к трубе, дым будет выходить уже из пазухи, которую оставляли в нижней части. В следующем ряду на фронтальные стены духовки устанавливается пластина из стали. Можно для этого использовать и заводской обод с дверцей, что значительно упростит дальнейшее строительство паросборника.
На этом этапе делают вытяжку, будет достаточно ¼ кирпича. Продолжают укладку до 24 ряда, а уже на нем необходимо выложить ступеньку и присоединить паросборник к дымоходу, притом сделать канал закрытым. В 27-м устанавливают заборную пластину, а в 28-м накрывают конструкцию кирпичной крышей. На следующем уровне прикрепляют трубу диаметром в один кирпичик. Колпаковая печь готова.
https://youtube.com/watch?v=RLxNrRHIP2M
https://youtube.com/watch?v=68RCwdyKsLw
Расчёт печи Кузнецова
«Кузнецовка» — очень сложный отопительный прибор и попытки рассчитать его и спроектировать самостоятельно ни к чему хорошему не приведут. Следует просто выбрать из всех имеющихся вариантов наиболее подходящий для себя — автор из своих наработок тайны не делает. Если в характеристиках понравившейся модели не указана мощность теплоотдачи, её можно рассчитать приблизительно: печь, которая топится два раза в сутки, каждый кв. м её поверхности отдаёт примерно 500 Вт тепла.
Печь ОВИК-9, порядок изготовления которой мы будем рассматривать, при размерах 1015х630х2100 мм обладает мощностью теплоотдачи в размере 3,6 кВт.
Модель ОВИК-9: общий вид
Преимущества и недостатки печи
Преимущества:
- высокий показатель коэффициента полезного действия 75-85% (КПД);
- топливо сгорает при высоких температурах;
- печь работает на всех видах твердого топлива — древесина, каменный и бурый уголь, брикеты и т.д.;
- несложность в обслуживании, нет необходимости чистить протяженные каналы (малое образование сажи);
- долговечность эксплуатации печи;
- эстетичный, оригинальный внешний вид;
- высокая эффективность, многофункциональность;
- экономичность;
- длительное сохранение тепла;
- форма и дизайн печей могут варьироваться в зависимости от назначения;
при периодичности топливных закладок в кузнецовку всего два раза в сутки можно иметь тепловой режим в доме, выгодно отличающийся даже от режима квартир с центральным отоплением.
Квартира в многоэтажке имеет более частые температурные колебания, чем частный дом, отапливающийся печью Кузнецова, дающей равномерную тепловую отдачу между топками;
совмещение печи Кузнецова и водяного отопления дома несложно и часто применяется на практике.
Внутри топки устанавливают трубчатый теплообменник и соединяют его с трубопроводом отопительного контура. Основной плюс — теплотехника и теплоотдача печи при модернизации остаются неизменны, без малейших снижений эффективности;
- конструкция кузнецовки позволяет устраивать невысокие дымоходы, причем снижения тяги при этом не происходит. Данный факт несколько удивляет тех, кто впервые знакомится с конструкцией и работой данных печей;
особенности внутренней конструкции печей Кузнецова позволяют устанавливать агрегат практически в любых помещениях любых размеров, независимо от того, для чего помещение предназначено.
И в кухнях, и в общих комнатах печь выглядит солидно и эстетично, и органично вписывается во многие интерьеры;
самая интересная и необычная в контексте домовой печи особенность кузнецовки: можно не закрывать вьюшку. Эта важнейшая деталь печи и одно из условий безопасной повседневной эксплуатации — для печи Кузнецова нужна только в том случае, если наступает внештатная ситуация.
Дело в том, что когда процесс сгорания топлива подходит к завершению и начинается остывание, тяга в каналах печи перераспределяется самопроизвольно, «автоматом».
Именно печи колпакового типа и стали основой для создания многих бытовых, отопительных и варочных печей нового типа, которые дают значительно лучший эффект при меньшем расходе топлива.
Что можно сказать о недостатках печи.
В техническом отношении их нет, но кое-что учитывать все же нужно.
Печь Кузнецова не может иметь массивных стенок — это свело бы на нет многие из её достоинств. Но при этом она подвергается довольно высоким тепловым нагрузкам.
Поэтому данный агрегат должен быть тщательно рассчитан и выверен на этапе разработки и столь же тщательно, со скрупулёзным соблюдением всех требований технологии, построен. При малейших отклонениях от технического регламента «кузнецовка» получится весьма недолговечной.
Схема печи с водяным контуром
Устройство, подключенное к водяному контуру, еще более увеличивает свою эффективность, позволяя при той же мощности обогреть значительно большую площадь.

При постройке такой печи котел устанавливается над топкой в зоне первого колпака — воду нагревают раскаленные газы, обволакивающие металлические стенки.
Горячая вода через верхний трубопровод отправляется в радиаторную систему, а через нижний поступает холодная вода.
Остывший воздух после повторного нагрева вытесняется в зону второго колпака, тем самым поддерживая теплоотдачу основной печи.
Теплообменник, устанавливаемый в печи, бывает двух разновидностей:
- однокамерный — представляет собой отсек для воды, выполненный либо в плоской форме, либо в виде котла;
- трубчатый — в таком теплообменнике вода постоянно продвигается вперед по трубам, расположенным друг над другом.
Более эффективным считается второй тип — благодаря меньшему объему труб, вода быстрее прогревается и расходится по радиаторной системе. Диаметр труб выбирается минимум в 50 мм — иначе вода в них может кипеть. Размеры печи с любым типом теплообменника зависят от количества колпаков, набора дополнительных функций. Если печь выкладывается только для отопления, достаточно будет компактного вертикального устройства размерами 1м х 1,2м х 2м.
Выкладка колпаковой печи из кирпича
Если вы решили в своем доме расположить колпаковую печь, то вовсе не обязательно прибегать к услугам дорого оплачиваемого печника. Достаточно просто внимательно изучить все тонкости проведения кладки подобных конструкций, закупить нужное количество строительных материалов и инструментов, а главное — запастись терпением, поскольку спешка может только навредить.
На сегодняшний день в сети интернет можно отыскать проекты возведения колпаковых печей. К тому же, размещенные там же форумы, позволят вам получить ценный совет от таких же рядовых граждан либо от опытных печников, а возможно даже завести новые знакомства.
Итак, вам понадобится:
- раствор для кладки (глина + вода + конский навоз);
- перфоратор или дрель с насадкой – миксером;
- болгарка;
- полнотелый кирпич, предназначенный для проведения подобных работ;
- колосник;
- пластина из стали.
Перед закладкой первого ряда, необходимо разместить на полу отражающую фольгу, которая способна обеспечить своеобразную циркуляцию воздуха внутри конструкции. А именно перенаправить поток теплого воздуха, который может опуститься вниз обратно. Таким образом, потеря теплого воздуха минимизируется. Стоит отметить, что отражающую фольгу рекомендуется брать такой ширины, чтобы она немного выступала за пределы фундамента. Излишки потом можно будет отрезать.
Для того, чтобы выложить печь, следует приобрести отшлифованный кирпич в нужном количестве, а кладку проводить строго по схеме «колпаковая печь порядовка».

Схема-порядовка выкладки корпаковой печи
Поскольку работа печи подразумевает постоянное изменение температурного режима, то необходимо очень тщательно составить проект, а только потом начинать кладку. Одним из важных правил – это наличие плавающей топки, выполненной из шамотного кирпича марки ШБ-8 или Ш-5. Для возведения самой конструкция приобретайте керамический кирпич марки не ниже М 150. В нижних рядах, согласно проекта, устанавливаются специальные окошки для дальнейшего проведения процесса чистки, а также поддувало.
Каждый кирпич перед кладкой необходимо шлифовать вручную. Качественно продуманная порядовка способна обеспечить максимальное время хода теплого дыма внутри конструкции. Стоит учесть, что кладка порядовки выполняется строго по схеме и не меняется практически нигде, кроме 23-27 уровнями. Однако стоит учесть, что это делается для придания сооружению некого шарма и оригинальности. Секрет кладки колпаковой печи заключается в том, что строгих правил и регламентированных геометрических параметров не существует. Она может возводиться произвольно, отвечая исключительно требованиям заказчика. Однако следует соблюдать лишь технологию кладки порядовки, что, собственно, и выделяет данную конструкцию от других. Можно даже выложить своеобразный отапливаемый лежак.
При осуществлении монтажа следует продумать наличие отделений. Причем, чем больше их будет, тем лучше будет проходить процесс теплоотдачи.
Предлагаем видео инструкцию по кладке Печи Кузнецова
- Как готовится раствор для штукатурки стен своими руками
- Кладка печи на даче своими руками
- Русская печь-теплушка своими руками
- Отопление каркасного дома
- Банная печь из кирпича
Строительство своими руками
Прежде чем приступить к строительству, необходимо выбрать подходящую модель (писали выше). Надо подсчитать ее мощность (для этого лучше всего воспользоваться онлайн-калькулятором), а также найти проект или порядовку.
Если готовая схема отсутствует, выполнить работу наугад вряд ли удастся даже опытному человеку. Порядовки колпаковых печей — это схемы поочередной выкладки каждого ряда. В них показаны все необходимые зазоры, материалы, другие нюансы. Если есть качественная порядовка без ошибок и описание к ней, то строительство сможет выполнить даже неподготовленный человек.
Работы производятся в два основных этапа:
- Фундамент. Разбирают деревянный пол, выкапывают небольшой котлован и засыпают его слоем песка со щебнем. Трамбуют до состояния максимальной плотности. Затем устанавливают опалубку, внутрь помещают арматурный каркас, после чего заливают бетон. Выдерживают фундамент до полного застывания бетона (не менее месяца). В идеале строить печь вместе со строительством дома.
- Кладка печи. Здесь все работы выполняются строго по указаниям проекта и порядовки. Никаких отклонений допускать не следует.
Как сделать русскую печь своими руками: чертежи порядовки
Возведение кирпичной конструкции подразумевает выбор места, обустройство фундамента, выкладывание отопителя и выведение дымохода. Поможет сделать русскую печь с лежанкой своими руками пошаговая инструкция и порядовка. Последняя представляет собой план расположения кирпичей в каждом слое.
Выбор места для кладки печи
Обычно подбирают такую ориентацию, чтобы устье выходило в сторону оконного проёма и было хорошо освещено. Строение может находиться как в центре помещения, так и у стены или в углу. Если дом или перегородки деревянные, их защищают негорючим материалом (оцинкованными листами или асбестовыми плитами). Кроме того, боковые грани отопителя не должны быть ближе 20 см к стенам. Это продиктовано соображением безопасности и необходимостью проведения ежегодной ревизии отопительного агрегата.
Приготовление раствора
Смеси на основе глины, применяемые для возведения кирпичных конструкций, классифицируются по жирности. От этого зависит их пластичность, устойчивость к высоким температурам, прочность и усадка. Бывают жирные, тощие и нормальные. Для строительства применяют именно последний тип раствора. Для его приготовления понадобятся вода, песок и глина. Последнюю предварительно необходимо замочить (примерно за 24 часа до кладки). В неё добавляют воду, доводя смесь до густоты сметаны. Процеживают раствор, добавляют песок и тщательно перемешивают. На поверхности смеси не должны появляться пятна жидкой глины. Если они есть, следует добавить ещё песка.
Базовые принципы кладки русской печи
Для возведения отопителя применяют полнотелые огнеупорные кирпичи без трещин и сколов. Их кладут с зазором в 5-8 мм, который должен быть обязательно заполнен раствором. Различные зоны отопителя кладут в соответствии с представленными схемами порядовки. Они могут быть выполнены в целый кирпич, поставленный на ребро или уложенный плашмя, а также в ½ (равно ширине) или ¼ (равно ребру) строительного блока. Каждый слой должен быть перевязан: поочередно переплетён двумя сторонами длинного ребра («ложка») и короткого ребра («тычка»).
Независимо от того, где будет возведена русская печь своими руками (в доме, на улице), чертежи порядовки и описание кладки печи будут незаменимы. Обязательно закладывают фундамент, опирающийся на стабильный горизонт грунта. На отметке 12 см от пола укладывают двухслойную гидроизоляцию (например, 2 куска рубероида). До уровня пола выкладывают верхнее перекрытие фундамента, состоящее из двух кирпичных рядов, уложенных вдоль плоской стороны. Основание должно быть идеально выверено по горизонтали иначе возводимая конструкция будет кривой. Чтобы избежать ошибок, следует выложить всю печку «на сухую». Все кирпичи укладывают на свои места без раствора. Мероприятие позволит разобраться с компоновкой отопителя и изучить проблемные места.


































