Оптимальные значения в индивидуальной системе отопления
Автономное отопление помогает избегать многих проблем, которые возникают с централизованной сетью, а оптимальная температура теплоносителя может регулироваться в соответствии к сезону. В случае индивидуального отопления под понятие нормы включают теплоотдачу прибора отопления на единицу площади помещения, где стоит этот прибор. Тепловой режим в данной ситуации обеспечивается конструктивными особенностями отопительных приборов.
Важно следить, чтобы носитель тепла в сети не остужался ниже 70 °С. Оптимальным считают показатель 80 °С
С газовым котлом контролировать нагрев легче, потому что производители ограничивают возможность нагрева теплоносителя до 90 °С. Используя датчики для регулировки подачи газа, нагрев теплоносителя можно регулировать.
Немного сложнее с аппаратами на твердом топливе, они не регулируют подогрев жидкости, и запросто могут превратить ее в пар. А уменьшить жар от угля или древесины поворотом ручки в такой ситуации невозможно. Контроль нагрева теплоносителя при этом достаточно условный с высокими погрешностями и выполняется поворотными термостатами и механическими заслонками.
Электрические котлы позволяют плавно регулировать нагрев теплоносителя от 30 до 90 °С. Они оснащены отличной системой защиты от перегрева.
Температурный график и его расчет
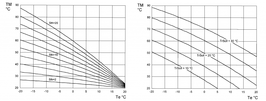
Как будет выглядеть график, зависит от температуры наружного воздуха. Чем больше отрицательное значение наружной температуры, тем больше теплопотери. Многие не знают, откуда брать данный показатель. Эта температура прописана в нормативных документах. За расчетное значение принимают температуры самой холодной пятидневки, причем берется самое низкое значение за последние 50 лет.

На графике представлена зависимость наружной и внутренней температуры. Допустим, температура наружного воздуха равна -17ºС. Проведя вверх линию до пересечения с t2, получим точку, характеризующую температуру воды в системе отопления.
Благодаря температурному графику, можно подготовить систему отопления даже под самые суровые условия. Также он сокращает материальные затраты на установку отопительной системы. Если рассматривать этот фактор с точки зрения массового строительства, экономия является существенной.
внутри
помещения
зависит
от
температуры
теплоносителя
,
а
также
других
факторов
- Температура наружного воздуха. Чем она меньше, тем отрицательнее это сказывается на отоплении;
- Ветер. При возникновении сильного ветра теплопотери увеличиваются;
- Температура внутри помещения зависит от теплоизоляции конструктивных элементов здания.
За последние 5 лет принципы строительства изменились. Строители увеличивают стоимость дома с помощью теплоизоляции элементов. Как правило, это касается подвалов, крыш, фундаментов. Эти дорогостоящие мероприятия впоследствии позволяют жильцам экономить на системе отопления.

На графике показывается зависимость температуры наружного и внутреннего воздуха. Чем ниже температура наружного воздуха, тем выше будет температура теплоносителя в системе.
Температурный график разрабатывается для каждого города во время отопительного периода. В малых населенных пунктах составляется температурный график котельной, которая обеспечивает необходимое количество теплоносителя потребителю.
Изменять
температурный
график
можно
несколькими
способами
- количественным – характеризуется изменением расхода теплоносителя, подаваемого в систему отопления;
- качественным – состоит в регулировании температуры теплоносителя перед подачей в помещения;
- временным – дискретный метод подачи воды в систему.
Температурный график представляет собой график отопительных трубопроводов, который распределяет отопительную нагрузку и регулируется с помощью централизованных систем. Существует также повышенный график, он создается для замкнутой системы отопления, то есть для обеспечения подачи горячего теплоносителя в подключаемые объекты. При применении открытой системы необходимо проводить корректировку температурного графика, так как теплоноситель расходуется не только на отопление, но и бытовое водопотребление.
Расчет температурного графика производится по простому методу. Ч
тобы его построить,
необходимы
исходные температурные
данные воздуха
- наружного;
- в помещении;
- в подающем и обратном трубопроводе;
- на выходе из здания.
Кроме того, следует знать номинальную тепловую нагрузку. Все остальные коэффициенты нормируются справочной документацией. Расчет системы производится для любого температурного графика, в зависимости от назначения помещения. Например, для крупных промышленных и гражданских объектов составляется график 150/70, 130/70, 115/70. Для жилых домов этот показатель составляет 105/70 и 95/70. Первый показатель показывает температуру на подачи, а второй – на обратке. Результаты расчетов заносятся в специальную таблицу, где показывается температура в определенных точках отопительной системы, в зависимости от наружной температуры воздуха.
Основным фактором при расчете температурного графика является наружная температура воздуха. Расчетная таблица должна быть составлена так, чтобы максимальные значения температуры теплоносителя в системе отопления (график 95/70) обеспечивали обогрев помещения. Температуры в помещении предусмотрены нормативными документами.
Принцип работы регуляторов отопления
Регулятор температуры теплоносителя, циркулирующего в отопительной системе — это прибор, с помощью которого обеспечивается автоматический контроль и корректировка температурных параметров воды.
Состоит данное устройство, изображенное на фото, из следующих элементов:
- вычислительный и коммутирующий узел;
- рабочий механизм на трубе подачи горячего теплоносителя;
- исполнительный блок, предназначенный для подмеса теплоносителя, поступающего из обратки. В ряде случаев устанавливают трехходовой кран;
- повысительный насос на участке подачи;
- не всегда повысительный насос на отрезке «холодного перепуска»;
- датчик на линии подачи теплоносителя;
- клапаны и запорная арматура;
- датчик на обратке;
- датчик температуры наружного воздуха;
- несколько датчиков температуры помещения.
Теперь необходимо разобраться, как происходит регулирование температуры теплоносителя и как функционирует регулятор.
На выходе из отопительной системы (обратке) температура теплоносителя зависит от объема воды, прошедшей через нее, поскольку нагрузка является относительно постоянной величиной. Прикрывая подачу жидкости, регулятор тем самым увеличивает разность между линией подачи и обраткой до требуемого значения (на данных трубопроводах устанавливают датчики).
Когда наоборот необходимо увеличить поток теплоносителя, тогда в систему теплоснабжения врезают повысительный насос, которым тоже управляет регулятор. С целью понижения температуры водяного входящего потока применяют холодный перепуск», который означает, что часть носителя тепла, уже проциркулировавшего по системе, вновь направляют на вход.
В результате регулятор, перераспределяя потоки теплоносителя в зависимости от данных, зафиксированных датчиком, обеспечивает соблюдение температурного графика отопительной системы.
Нередко такой регулятор комбинируют с регулятором горячего водоснабжения с помощью одного вычислительного узла. Прибор, регулирующий ГВС, проще в управлении и в части исполнительных механизмов. При помощи датчика на линии горячего водоснабжения выполняется регулировка прохода воды через бойлер и в итоге она стабильно имеет стандартные 50 градусов (прочитайте: «Отопление через водонагреватель «).
Основные факторы
Идеально рассчитанная и сконструированная система отопления должна поддерживать заданную температуру в помещении и компенсировать возникающие потери тепла. Рассчитывая показатель тепловой нагрузки на систему отопления в здании нужно принимать к сведению:
— Назначение здания: жилое или промышленное.
— Характеристику конструктивных элементов строения. Это окна, стены, двери, крыша и вентиляционная система.
— Размеры жилища. Чем оно больше, тем мощнее должна быть система отопления. Обязательно нужно учитывать площадь оконных проемов, дверей, наружных стен и объем каждого внутреннего помещения.
— Наличие комнат специального назначения (баня, сауна и пр.).
— Степень оснащения техническими приборами. То есть, наличие горячего водоснабжения, системы вентиляции, кондиционирование и тип отопительной системы.
— Температурный режим для отдельно взятого помещения. Например, в комнатах, предназначенных для хранения, не нужно поддерживать комфортную для человека температуру.
— Количество точек с подачей горячей воды. Чем их больше, тем сильнее нагружается система.
— Площадь остекленных поверхностей. Комнаты с французскими окнами теряют значительное количество тепла.
— Дополнительные условия. В жилых зданиях это может быть количество комнат, балконов и лоджий и санузлов. В промышленных – количество рабочих дней в календарном году, смен, технологическая цепочка производственного процесса и пр.
— Климатические условия региона. При расчёте теплопотерь учитываются уличные температуры. Если перепады незначительны, то и на компенсацию будет уходить малое количество энергии. В то время как при -40 о С за окном потребует значительных ее расходов.
Точные расчеты тепловой нагрузки
Значение теплопроводности и сопротивление теплопередачи для строительных материалов
Но все же этот расчет оптимальной тепловой нагрузки на отопление не дает требуемую точность вычисления. Он не учитывает важнейший параметр – характеристики здания. Главной из них является сопротивление теплопередачи материал изготовления отдельных элементов дома – стен, окон, потолка и пола. Именно они определяют степень сохранения тепловой энергии, полученной от теплоносителя системы отопления.
Что же такое сопротивление теплопередачи (R )? Это величина, обратная теплопроводности (λ ) – возможности структуры материала передавать тепловую энергию. Т.е. чем больше значение теплопроводности – тем выше тепловые потери. Для расчета годовой нагрузки на отопление воспользоваться этой величиной нельзя, так как она не учитывает толщину материала (d ). Поэтому специалисты используют параметр сопротивление теплопередачи, который вычисляется по следующей формуле:
Расчет по стенам и окнам
Сопротивление теплопередачи стен жилых зданий
Существуют нормированные значения сопротивления теплопередачи стен, которые напрямую зависят от региона, где расположен дом.
В отличие от укрупненного расчета нагрузки на отопление сначала нужно вычислить сопротивление теплопередачи для наружных стен, окон, пола первого этажа и чердака. Возьмем за основу следующие характеристики дома:
- Площадь стен – 280 м². В нее включены окна – 40 м² ;
- Материал изготовления стен – полнотелый кирпич (λ=0.56 ). Толщина наружных стен – 0,36 м. Исходя из этого рассчитываем сопротивление телепередачи — R=0.36/0.56= 0,64 м²*С/Вт ;
- Для улучшения теплоизоляционных свойств был установлен наружный утеплитель – пенополистирол толщиной 100 мм. Для него λ=0,036. Соответственно R=0,1/0,036= 2,72 м²*С/Вт ;
- Общее значение R для наружных стен равно 0,64+2,72= 3,36 что является очень хорошим показателем теплоизоляции дома;
- Сопротивление теплопередачи окон — 0,75 м²*С/Вт (двойной стеклопакет с заполнением аргоном).
Фактически тепловые потери через стены составят:
(1/3,36)*240+(1/0.75)*40= 124 Вт при разнице температуры в 1°С
Температурные показатели возьмем такие же, как и для укрупненного вычисления нагрузки на отопление +22°С в помещении и -15°С на улице. Дальнейший расчет необходимо делать по следующей формуле:
Расчет по вентиляции
Затем необходимо вычислить потери через вентиляцию. Общий объем воздуха в здании составляет 480 м³. При этом его плотность примерно равна 1,24 кг/м³. Т.е. его масса равна 595 кг. В среднем за сутки (24 часа) происходит пятикратное обновление воздуха. В таком случае для вычисления максимальной часовой нагрузки для отопления нужно рассчитать тепловые потери на вентиляцию:
(480*40*5)/24= 4000 кДж или 1,11 кВт/час
Суммируя все полученные показатели можно найти общие тепловые потери дом:
Таким образом определяется точная максимальная тепловая нагрузка на отопление. Полученная величина напрямую зависит от температуры на улице. Поэтому для расчета годовой нагрузки на отопительную систему нужно учитывать изменение погодных условий. Если средняя температура в течение отопительного сезона составляет -7°С, то итоговая нагрузка на отопление будет равна:
(124*(22+7)+((480*(22+7)*5)/24))/3600)*24*150(дней отопительного сезона)=15843 кВт
Меняя температурные значения можно сделать точный расчет тепловой нагрузки для любой системы отопления.
К полученным результатам нужно прибавить значение тепловых потерь через крышу и пол. Это можно сделать поправочным коэффициентом 1,2 – 6,07*1,2=7,3 кВт/ч.
Полученная величина указывает на фактические затраты энергоносителя при работе системы. Существует несколько способов регулирования тепловой нагрузки отопления. Наиболее действенный из них – уменьшение температуры в комнатах, где нет постоянного присутствия жильцов. Это можно осуществить с помощью терморегуляторов и установленных датчиков температуры. Но при этом в здании должна быть установлена двухтрубная система отопления.
Для вычисления точного значения тепловых потерь можно воспользоваться специализированной программой Valtec. В видеоматериале показа пример работы с ней.
Анатолий Коневецкий, Крым, Ялта
Анатолий Коневецкий, Крым, Ялта
Уважаемая Ольга! Извините,что обращаюсь к Вам еще раз. Что-то у меня по Вашим формулам получается немыслимая тепловая нагрузка: Кир=0,01*(2*9,8*21,6*(1-0,83)+12,25)=0,84 Qот=1,626*25600*0,37*((22-(-6))*1,84*0,000001=0,793 Гкал/час По укрупненной формуле, приведенной выше, получается всего 0,149 Гкал/час. Не могу понять, в чем дело? Разъясните пожалуйста! Извините за беспокойство. Анатолий.
Анатолий Коневецкий, Крым, Ялта
От чего зависит температура воды в отоплении
Для правильной работы теплоснабжения необходим график температуры воды в системе отопления. Согласно ему определяется оптимальная степень нагрева теплоносителя в зависимости от влияния тех или иных внешних факторов. По нему можно определить, какая температура воды в батареях отопления должна быть в определенный промежуток времени работы системы.
Водяная система отопления дома
Общим заблуждением считается, что чем выше степень нагрева теплоносителя, тем лучше. Однако при этом увеличивается расход топлива, возрастают текущие затраты.
Нередко низкая температура батарей отопления не является нарушением норм обогрева помещения. Просто была спроектирована низкотемпературная система теплоснабжения
Именно поэтому точному вычислению нагрева воды следует уделить особое внимание
Оптимальная температура воды в трубах отопления во многом зависит от внешних факторов. Для ее определения нужно учитывать следующие параметры:
Тепловые потери дома. Они являются определяющими для расчета любого типа теплоснабжения. Их вычисление будет первым этапом проектирования теплоснабжения;
Характеристики котла. Если работа этого компонента не будет отвечать расчетным требованиям — температура воды в системе отопления частного дома не поднимется до нужного уровня;
Материал изготовления труб и радиаторов. В первом случае необходимо использовать трубы с минимальным показателем теплопроводности. Это позволит сократить тепловые потери в системе во время транспортировки теплоносителя от теплообменника котла к радиаторам
Для батарей важно обратное – высокая теплопроводность. Поэтому температура воды в радиаторах центрального отопления, изготовленных из чугуна, должна быть немного выше, чем у алюминиевых или биметаллических конструкциях
Можно ли самостоятельно определить, какая температура должна быть в батареях отопления? Это зависит от характеристик компонентов системы. Для этого следует ознакомиться со свойствами батарей, котла и труб теплоснабжения.
В централизованной системе теплоснабжения температура труб отопления в квартире не является важным показателем
Важно, чтобы соблюдались нормы нагрева воздуха в жилых комнатах
Если нормы нарушены
Температура воздуха в помещении может не соответствовать нормам по следующим причинам:
- Завоздушенность трубопроводов.
- Износ и зарастание трубопровода.
- Ошибки в монтаже отопления.
- Неправильная настройка оборудования.
- Недостаточная теплоизоляция стен.
Кроме того, радиаторы могут эффективно не нагреваться в случаях:
- Установки батарей слишком малой мощности;
- Засоров и завоздушенности радиаторов;
- Неисправности запорной арматуры на внутриквартирных отопителях;
- Неотрегулированных радиаторов;
- Недостаточная теплоизоляция стен.
- Радиаторов, заставленных мебелью.
Прежде всего, определите причину несоответствия температуры радиаторов нормам.
Специалисты управляющей компании составят акт в 2-х экземплярах. Первый управляющая компания направляет поставщику услуги, второй отдает владельцу помещений.
Требования к теплоснабжению
Законодательством Российской Федерации установлены определённые правила по теплоснабжению.
Поставщик услуги обязан выполнять следующие требования:
- своевременно подавать отопление — с 1 по 15 октября;
- при среднедневной температуре воздуха на улице не выше + 8°С в течение 5 дней включить систему раньше положенного срока;
- если проектная документация содержит информацию о температурных значениях на улице для подключения отопления, то для включения отопления учитываются эти показатели;
- если происходит поломка системы в зоне ответственности поставщика, поставщик обязан устранить причину в самые короткие сроки;
- поставщик должен реагировать на обращение клиентов (допустимо снижение температуры до 4, 8 и 12°С, но при условии, что это будет длиться не более 4, 8 и 16 часов);
- простой подачи отопления не должен превышать 24 часа на протяжении 30 календарных дней;
- разовое отключение теплоснабжения допустимо максимум на 16 часов при условии, что температура воздуха на улице + 12°С.
Отклонение показателей температуры радиаторов отопления на 1°С в час снижает стоимость платы за услугу на 0,15.
Начало сезона отопления
Жильцов многоквартирных домов волнует вопрос, когда начинается отопительный сезон, и можно ли сдвинуть его начало и окончание.
Согласно п.5 ст. 2 Постановления № 354, тепло подают в дома на шестой день после снижения среднесуточной уличной температуры до + 8°С. После распоряжения администрации населенного пункта о начале отопительного сезона дома начинают отапливать.
Окончание отопительного сезона происходит по такому же принципу. Отопительный сезон завершается, когда среднесуточная температура превысит + 8° и продержится на этом уровне пять дней.
Жители многоквартирных домов с централизованным отоплением повлиять на этот процесс не могут.
Владельцы домов с автономными тепловыми системами начинают и завершают отопительный период по своему усмотрению.
В котельных есть график, где указаны нормы нагрева подающей и обратной тепловой линии при разной уличной температуре!
Для его составления анализируются температурные показатели воздуха за последние 50 лет, из которых берут восемь самых холодных. Чем теплее на улице, тем слабее греют воду для теплосетей. Это позволяет поддерживать в квартирах температуру, привычную для жильцов, и не расходовать лишнее топливо.
Температура теплоносителя в системе отопления определяет температурный режим в помещении.
Некоторые показатели микроклимата в помещении, в том числе температура воздуха, нормируются законодательными актами Российской Федерации.
При несоответствии температуры в помещении нормам необходимо выявить причину неэффективной работы системы отопления.
Расчет температурного режима
Неравномерное распределение тепла в радиаторе
Для определения оптимального температурного режима необходимо учитывать характеристики компонентов отопления – радиаторов и батарей. В частности – удельную мощность (Вт/см²). Это напрямую скажется на тепловой отдаче нагретой воды воздуху в помещение.
Также необходимо сделать ряд предварительных расчетов. При этом учитываются характеристики дома и отопительных приборов:
- Коэффициент сопротивления теплопередачи наружных стен и оконных конструкций. Оно должно быть не менее 3, 35 м²*С/Вт. Зависит от климатических особенностей региона;
- Поверхностная мощность радиаторов.
Температурный график системы отопления имеет прямую зависимость от этих параметров. Для вычисления тепловых потерь дома необходимо знать толщину наружных стен и материал постройки. Расчет поверхностной мощности батарей выполняется по следующей формуле:
Руд=Р/Fакт
Где Р – максимальная мощность, Вт, Fакт – площадь радиатора, см².
Зависимость тепловой отдачи от температуры на улице
Согласно полученным данным составляется температурный режим для отопления и график теплоотдачи в зависимости от температуры на улице.
Для своевременного изменения параметров отопления устанавливают температурный регулятор отопления. Это устройство подключается к термометрам на улице и в помещении. В зависимости от текущих показателей происходит регулировка работы котла или объема притока теплоноситель в радиаторы.
Централизованное отопление
Для централизованного теплоснабжения температурный режим системы отопления зависит от характеристик системы. В настоящее время есть несколько видов параметров теплоносителя, поступающего к потребителям:
- 150°С/70°С. Для нормализации температуры воды с помощью элеваторного узла происходит ее смешивание с охлажденным потоком. В данном случае можно составить индивидуальный температурный график отопительной котельной для конкретного дома;
- 90°С/70°С. Свойственен для небольших частных отопительных систем, рассчитанных для теплоснабжения нескольких многоквартирных домов. В этом случае можно не устанавливать смесительный узел.
Температурный график работы отопления
В обязанность коммунальных служб входит расчет температурного отопительного графика и контроль его параметров. При этом степень нагрева воздуха в жилых помещениях должна быть на уровне +22°С. Для нежилых этот показатель немного ниже — +16°С.
Для централизованной системы составление корректного температурного графика котельной отопления требуется для обеспечения оптимальной комфортной температуры в квартирах. Основная проблема заключается в отсутствии обратной связи – невозможно регулировать параметры теплоносителя в зависимости от степени нагрева воздуха в каждой квартире. Именно поэтому составляется температурный график отопительной системы.
Автономное отопление
Терморегулятор
Делать аналогичные расчеты для автономных систем теплоснабжения частного дома зачастую не нужно. Если в схеме предусмотрены комнатные и уличные температурные датчики – информация о них будет поступать в блок управления котлом.
Поэтому для уменьшения расхода энергоносителя чаще всего выбирают низкотемпературный режим работы отопления. Он характеризуется относительно небольшим нагревом воды (до +70°С) и высокой степенью ее циркуляции. Это необходимо для равномерного распределения тепла по всем отопительным приборам.
Для реализации подобного температурного режима системы отопления потребуется выполнение следующих условий:
- Минимальные тепловые потери в доме. Однако при этом не нужно забывать о нормальном воздухообмене – обустройство вентиляции обязательно;
- Высокая тепловая отдача радиаторов;
- Установка автоматических регуляторов температуры в отоплении.
Если же есть необходимость выполнить корректный расчет работы системы- рекомендуется воспользоваться специальными программными комплексами. Для самостоятельного вычисления необходимо учесть слишком много факторов. Но с их помощью можно составить примерные температурные графики режимов отопления.
Однако следует учитывать, что точный расчет температурного графика теплоснабжения делается для каждой системы индивидуально. В таблицах приведены рекомендованные значения степени нагрева теплоносителя в подающей и обратной трубе в зависимости от температуры на улице. При выполнении вычислений не учитывались характеристики здания, климатические особенности региона. Но даже несмотря на это их можно использовать в качестве основы для создания температурного графика отопительной системы.
Температурные нормы воздуха и радиаторов
Комфортная и здоровая эксплуатация жилых помещений, прежде всего, связана с правильными температурными показателями. Для каждого типа помещения установлены свои стандарты. Так как для отдыха и сна требуются одни условия, для умственной работы – другие, для физической активности – третьи и т. д.
Так, для различных комнат частного дома применяются следующие температурные нормы:
- Гостиная, спальная, детская – 18-22℃.
- Санузел – 17-18℃.
- Ванная, душевая, совмещенный санузел – 20-24℃.
- Жилая комната на углу здания – 22-24℃.
- Кухня – 17-18℃.
- Кабинет – 19-22℃.
- Проходы, лестничные марши, прихожая – 14-18℃.
- Тамбур – 15-18℃.
- Кладовая – 12-15℃.
Такая температурная разница обуславливается особенностями эксплуатации помещений. Например, кухню не следует чрезмерно отапливать, так как здесь всегда есть свой источник тепла – варочные поверхности. С другой стороны, для приема водных процедур нужен повышенный температурный режим – кроме того, это требуется и для последующей просушки помещения.

В среднем температура воздуха в доме варьируется в рамках 17-24℃, и определяется назначением помещенияИсточник dmclk.ru
Температура в помещении напрямую зависит от степени нагрева воды в батареях – при этом независимо от того, подключены ли они к центральному отоплению или автономной системе частного дома, есть следующие нормы:
- В межсезонье, в начале отопительного периода, когда на улице не выше +5℃ – приборы отопления должны разогреваться не более чем до 40℃.
- В мороз, когда столбик наружного термометра не поднимается выше -15℃ – оптимальный нагрев радиатора 65-70℃.
При этом сама теплопередающая жидкость не должна прогреваться свыше 90℃. Закипание теплоносителя приведет к ряду негативных последствий, порче труб и оборудования и скорым большим затратам на ремонт.

Уровень нагрева радиаторов не должен превышать комфортного значения – 40-70℃Источник oka.fm
Причины использования температурного графика
Основой работы каждой котельной, обслуживающей жилые, административные и другие здания, на протяжении отопительного периода является температурный график, в котором указываются нормативы показателей теплоносителя в зависимости от того, какой является фактическая наружная температура.
- Составление графика дает возможность подготовить отопление к понижению температуры на улице.
- Также это экономия энергоресурсов.
Современные строительные компании могут увеличивать стоимость жилья за счет использования дорогих энергосберегающих технологий при возведении многоквартирных зданий.
Несмотря на изменение строительных технологий, применение новых материалов для утепления стен и других поверхностей здания, соблюдение в системе отопления нормы температуры теплоносителя – оптимальный способ поддержать комфортные жилищные условия.
Оптимальные значения в индивидуальной системе отопления
Автономное отопление помогает избегать многих проблем, которые возникают с централизованной сетью, а оптимальная температура теплоносителя может регулироваться в соответствии к сезону. В случае индивидуального отопления под понятие нормы включают теплоотдачу прибора отопления на единицу площади помещения, где стоит этот прибор. Тепловой режим в данной ситуации обеспечивается конструктивными особенностями отопительных приборов.
Важно следить, чтобы носитель тепла в сети не остужался ниже 70 °С. Оптимальным считают показатель 80 °С
С газовым котлом контролировать нагрев легче, потому что производители ограничивают возможность нагрева теплоносителя до 90 °С. Используя датчики для регулировки подачи газа, нагрев теплоносителя можно регулировать.
Немного сложнее с аппаратами на твердом топливе, они не регулируют подогрев жидкости, и запросто могут превратить ее в пар. А уменьшить жар от угля или древесины поворотом ручки в такой ситуации невозможно. Контроль нагрева теплоносителя при этом достаточно условный с высокими погрешностями и выполняется поворотными термостатами и механическими заслонками.
Электрические котлы позволяют плавно регулировать нагрев теплоносителя от 30 до 90 °С. Они оснащены отличной системой защиты от перегрева.
Путь гигакалории
Мегаполисы сверкают высотными домами. Над столицей висит туча реновации. Глубинка молится на пятиэтажки. Пока не снесли, в доме работает система подачи калорий.
Отопление многоквартирного дома экономкласса производится через централизованную систему подачи тепла. Трубы входят в подвальное помещение строения. Подача носителя тепла регулируется вводными задвижками, после которых вода попадает в грязевики, а оттуда раздается по стоякам, а с них подаётся в батареи и радиаторы, обогревающие жильё.
Количество задвижек коррелирует с количеством стояков. При выполнении ремонтных работ в отдельно взятой квартире существует возможность отключения одной вертикали, а не всего дома.
Отработавшая жидкость частично уходит по обратной трубе, а частично подаётся в сеть горячего водоснабжения.





































