Полка для инструмента – практичная самоделка в гараже
Стеллаж для инструмента практично устанавливать в месте, находящимся возле автомобиля, так как при обслуживании вам не придется бегать через весь гараж в поисках того или иного ключа. Идеальное расположение полки – выше крыши автомобиля, ширину доски нужно выбирать такую, чтобы небольшой ящик с инструментом или тот же рубанок, наждак свободно помещался.
Сооружая полку, не стоит забывать о нагрузке на последнюю. Поскольку инструмент тяжелый, в конструкционные особенности полки нужно включить металлические усиления из арматуры, уголка или профилированной трубы. В зависимости от доступности материалов, толщина метала (для усиления) должна быть не менее 12 мм. Порезанную кусочками арматуру распределяют на расстоянии 50 см друг от друга (оптимальное расстояние для предотвращения прогиба доски под действием нагрузки металла).После заготовки всех комплектующих, приступаем к работе. Нарезанную арматуру равномерно распределим по всей длине будущей навесной полки. По диаметру штырей подбираем сверло, просверливаем стену примерно на 15 см вглубь. После сверления, забиваем арматуру в гаражную стену, выравниваем по длине.Для фиксирования полки понадобится уголок. Металл размечается, разрезается на составляемые, которые будут приварены по краям выступающих штырей. От стены под доской, наваривается и обрезается по длине полки полоска из металла, в ней сверлятся отверстия для фиксирования доски. Последним делом, закладываются вырезанные по размерам доски, фиксируются шурупами либо болтовым креплением. Закончив все ремонтные работы, готовую полку для инструмента можно покрасить в желаемый цвет.
Предметы мебели для гаража сделать не трудно. А если человек любит мастерить своими руками, то будет еще и интересно. Инструмента остается много, а места на полке уже не остается? Тогда можно задуматься над сооружением гаражного стеллажа.На первый взгляд, он кажется громоздким и тяжелым по конструкторскому принципу. Но не стоит огорчаться, так как все это просто гора металла, на болтовых соединениях с деревянными элементами, то есть все можно сделать самостоятельно.
Из чего делают
Как уже говорили, стеллажи для гаража делают из древесины и металла. Деревянные легче по весу, с древесиной работать проще, но они выдерживают не такие большие нагрузки. Металлические более тяжелые (тяжелее в разы), но на них можно уложить и слона.
Один из вариантов компоновки
Пиломатериалы по сравнению с металлом стоят меньше. Но не думайте, что затраты буду небольшими: вам придется покупать сортовую древесину без сучков, а это класс «элит» или «премиум» с соответствующим ценником. Так что очень дешево не получится.
Из дерева
Условия эксплуатации в гараже далеко не самые лучшие — повышенная влажность, мороз, попеременное размерзание/замерзание, временами — жара. Не очень хорошо для древесины. Потому весь материал перед работой необходимо обработать антибактериальными и защитными составами. Берите средства для древесины для наружных работ, так как условия в неотапливаемом гараже больше на них похожи. Можно подобрать такое средство, которое одновременно тонирует обрабатываемую поверхность и ваше изделие можно будет не красить. После обработки материалы просушивают и только после этого начинают работу.
Как соединять бруски
При соединении частей деревянного стеллажа можно использовать стандартные для плотников способы — в четверть или вполулапу. Если это для вас сложно, можно прибивать и встык, а для усиления соединений использовать металлические уголки и/или накладные пластины.
Еще момент: соединять лучше на гвозди, а не на саморезы. Более устойчиво получается, меньше соединения «разбалтываются». Если выбрали вариант с усилением пластинами, их можно крепить на саморезы.
Деревянный стеллаж для гаража
Теперь по размерам: для стоек используют обычно брус 50*50 мм, для перекладин можно использовать тот же брус или чуть тоньше — 50*30 мм. Настил делают из:
- досок толщиной не менее 21 мм;
- влагостойкой фанеры толщиной от 10 мм;
- ламинированного ДСП;
- ОСП.
Наиболее дешевые — доска и фанера. Ламинированный ДСП значительно дороже, но его не надо красить, а это — хороший плюс. Чтобы не тратить очень много, можно на базах брать первые и последние листы в пачке — они поцарапанные и идут значительно дешевле.
Деревянный стеллаж в гараж — чертеж с размерами
Еще момент: у полок из ДСП остается открытым боковой срез. Если его не обработать, при повышении влажности стружка будет разбухать, полка станет коробиться. Чтобы этого не произошло, промажьте края силиконом. С такой обработкой ничего с ДСП не случится.
https://youtube.com/watch?v=NdiaH15-bxc
Металлические
Если вы решили сделать металлические стеллажи для гаража, выбор материалов шире — есть два варианта металлопроката, плюс стандартные решения для складских помещений (перфорированные уголки). Также использовать можно металлические части, предназначенные для других целей — например, подойдут стальные кабель-стойки или кабель-каналы, которые используются в связи.
Кабель-каналы и полки — удобно и не очень дорого
Итак, из чего делают каркас металлического стеллажа в гараж:
- Из металлического уголка с толщиной металла от 3-4 мм. Ширина полочки уголка — 25-45 см — в зависимости от планируемых нагрузок. Прочный, но металлоемкий материал, весит много, стоит дорого.
- Профильная труба (прямоугольная в сечении). При меньшей металлоемкости (толщина стенок меньше), по сравнению с металлическим уголком имеет лучшие характеристики по упругости (сложнее согнуть), более устойчива к кручению. Примерные размеры для стоек 50*50 мм или 40*40 мм, на поперечины 50*25 мм или 40*25 мм соответственно.
- Стойки делают из профтрубы, а поперечины из уголка. Толщина металла 2-3 мм, ширина полки — 25 мм и больше. Разворачивают уголок так, чтобы укладываемый настил был как в «гнезде».
Присмотритесь внимательно, как расположены уголки
Настил на полки делают из тех же материалов, что и для деревянного стеллажа (доска, фанера, ОСП, ДСП), только иногда добавляются еще нестандартные варианты, которые с деревянным каркасом используют резко из-за высокой массы — листовой металл.
Оптимальной для большинства регионов остается доска — надежный, не очень дорогой материал. Брать надо половую, без сучков (с минимумом сучков) толщиной от 21 мм. Обработать антисептиками, затем покрасить.
Плюс металлических полок — высокая надежность при малой толщине, минусы — цена, масса и «громкость». Их также надо красить, только сначала очистить от ржавчины, затем пройтись преобразователем ржавчины и грунтом, затем — красить и желательно в два слоя. Также, кстати, надо обрабатывать и металлический каркас. Тогда стеллаж в гараже не будет ржаветь.
Необходимые инструменты и материалы
Ремонт в гараже, как и в любом другом помещении, требует применения специальных инструментов и материалов. Какими именно они будут – все зависит от того, какие работы планируется проводить. Так, например, могут пригодиться следующие инструменты:
- болгарка;
- сварочный аппарат;
- кисти;
- перфоратор;
- дрель;
- шуроповерт;
- молоток;
- отвертки;
- уровень;
- ручная электропила;
- электролобзик
- и прочее.
Если говорить о материалах, пригодятся:
- шпаклевка;
- цемент;
- рубероид;
- минеральная вата;
- пенопласт;
- водоэмульсионная краска;
- пластиковые панели;
- фанера;
- листы ДСП;
- грунтовка;
- болты;
- уголки, пенопласт;
- и прочее.
Изготовление простейшего стеллажа

А теперь давайте перейдем к изготовлению конструкции. Вам необходимо выполнить такие манипуляции:
- Сначала делаете на стене разметки на уровне размещения полок. Проверьте горизонтальность разметки, используя уровень.
- Закрепите при помощи длинных шурупов к стенке планки, длина которых 243,8 см. Они должны закрепляться на том уровне, на котором впоследствии будут установлены полки. Высота полок определяется самостоятельно, все зависит от того, что собираетесь хранить.
- У вас осталось три самые длинные планки, их нужно максимально точно совместить с теми, которые уже закреплены на стенке. Используя по два самореза или гвоздя, необходимо наживить планки, чтобы просто зафиксировать положение.
- Возьмите те планки, которые впоследствии будут выполнять функции ножек – ставите одну посередине, а две по краям. Их нужно соединить только с верхними планками саморезами. Не стоит использовать более 2-3 штук в одном соединении. Если планируете хранить тяжелые предметы, то нужно расстояние между опорами делать не менее 70 см.
- Уберите дополнительные крепления для фиксации с планок. В итоге фасадная часть должна получиться почти идеальной.
- Теперь нужно подготовить при помощи специального приспособления карманные отверстия на девяти планках.
- Закрепите под прямым углом к планкам, расположенным горизонтально, доски с карманными отверстиями.
- Устанавливаете фасадную часть стеллажа и крепите его при помощи длинных шурупов. Их нужно надежно ввинчивать в карманные отверстия и поперечные планки.
- Теперь надежно закрепляете раскроенные куски фанеры на каркасе.
Финишную отделку делать нет необходимости, но если есть желание, то нанесите несколько слоев краски и покройте лаком. Это не только улучшит внешний вид, но и существенно увеличит срок эксплуатации изделия.
Критерии выбора
Для тех, кто не готов заняться изготовлением полок самостоятельно, всегда есть вариант купить уже готовое приспособление нужной формы, размера и функционала.

Однако, даже имея на примете какой-либо органайзер, учитывайте следующие критерии выбора, подобранные опытными мастерами:
- Материал: выбирайте металлические конструкции, поскольку они гарантированно прослужат дольше.
- Размеры: подбирайте такую модель, которая не будет излишне громоздкой или чересчур миниатюрной.
- Нагрузка: исходите из того, какую нагрузку сможет выдержать полка, и соотнесите это с имеющимися в вашем распоряжении инструментами.
- Регулирование размеров и параметров конструкции: если вам требуется видоизменять вашу полку, то лучше приобрести такую модель, которая будет состоять из съемных блоков.

Деревянные полки с каркасом из металла
Стеллаж с металлическим каркасом
Альтернативный вариант конструкции, представляющий собой более дорогое, но, вместе с тем, более прочное и долговечное решение. Металлическими в данных полках являются стойки, а сама поверхность полок выполняется из дерева или любых материалов, имеющих древесное происхождение.
Подобный стеллаж имеет более высокую невосприимчивость к влажности и плесени. Он более устойчив к нагреванию и возгоранию. Более того, применяя металлические части можно сделать разборными, что позволит менять внешний вид конструкции по любому желанию владельца гаража.
Материалы и инструменты, необходимые для работы
Уголки для стеллажа в гараже
Стойки подобного стеллажа делаются из труб прямоугольного сечения или же из профиля с шириной одной из сторон 5 см. В качестве поперечин лучше всего подойдёт уголок 30 мм.
Каркас делается из уголка, при этом толщина полки должна составлять от 1,5 до 3 см (по высоте уголка). Поперечины, сделанные из уголка, можно по разному крепить к направляющим – при помощи сварки или же при помощи болтов. Тут всё зависит от желания владельца.
Если нужна прочная конструкция, то предпочтительнее сварка, если требуется универсальность изделия с возможностью его дальнейшей модернизации, следует воспользоваться болтами. Применение болтов позволяет, например, менять высоту каждого уровня.
Полки традиционно могут быть сделаны из любого имеющегося под рукой материала – от сосны до ОСП. Их толщина из соображений прочности не должна быть менее 12-15 мм.
Для работ потребуется следующий набор инструментов:
- дрель (шуруповёрт)
- болгарка
- ножовка по дереву
- уголок
- уровень
- сварочный аппарат (опционально)
Порядок изготовления
Каркас стеллажа из уголка
Сборку стеллажа лучше всего проводить в свободном помещении, при этом желательно освободить гараж от лишних вещей и убрать из него автомобиль.
После сборки каркаса его следует прикрутить к стене. Последовательность сборки следующая:
По готовым замерам производится нарезка материала стоек и уголков для полок при помощи болгарки Производится разметка стоек в тех местах, где к ним будут приделываться полки Уголки прикручиваются при помощи болтов к стойкам (или привариваются в случае стационарной конструкции)
При этом крайне важно соблюсти угол соединения в 90°, иначе конструкция получится перекошенной Аналогично стойки соединяются друг с другом при помощи поперечин, но при этом следует соблюсти прямые углы не только между стойками и поперечинами, но между поперечинами и приделанными ранее уголками Собранная конструкция устанавливается на своё место и прикручивается к стенам и полу. Это можно сделать, например, при помощи анкерных болтов Металлический каркас шлифуется при помощи болгарки с соответствующей насадкой-щёткой и покрывается грунтовкой или краской, содержащей грунтовку
На этом этапе, чтобы облегчить трудоёмкий процесс механической чистки каркаса от ржавчины, можно воспользоваться химическим преобразователем ржавчины
Обычно, преобразователи требуют сутки на растворение ржавчины; после чего допускается покраска поверхностей без какой бы то ни было механической или химической обработки После высыхания краски из дерева или деревянных материалов вырезаются полочки и подгоняются по размерам к готовой конструкции каркаса Полки шлифуются, красятся или покрываются лаком, после чего присоединяются к каркасу при помощи болтов или саморезов
На этом этапе, чтобы облегчить трудоёмкий процесс механической чистки каркаса от ржавчины, можно воспользоваться химическим преобразователем ржавчины. Обычно, преобразователи требуют сутки на растворение ржавчины; после чего допускается покраска поверхностей без какой бы то ни было механической или химической обработки После высыхания краски из дерева или деревянных материалов вырезаются полочки и подгоняются по размерам к готовой конструкции каркаса Полки шлифуются, красятся или покрываются лаком, после чего присоединяются к каркасу при помощи болтов или саморезов
ВИДЕО: Универсальные полки своими руками
Полки в гараже: порядок прежде всего. Общие вопросы проектирования, простые варианты, пошаговая инструкция изготовления своими руками (75+ Фото & Видео) +Отзывы
Модели и конструкции
Выбирая стеллажи для гаража, примите во внимание площадь помещения и отведенные под них места. Так, некоторые конструкции могут оказаться слишком громоздкими для параметров вашего гаража или же напротив, недостаточно вместительными. Перед выбором модели сразу подумайте, что на них будет лежать, ведь разные виды систем хранения выполняют свою индивидуальную функцию и выдерживают разную нагрузку
Перед выбором модели сразу подумайте, что на них будет лежать, ведь разные виды систем хранения выполняют свою индивидуальную функцию и выдерживают разную нагрузку.


Существуют следующие модели стеллажей:
- стационарные;
- сборно-разборные;
- передвижные;
- островные;
- вращающиеся;
- модульные;
- навесные.

Стационарные стеллажи отличаются устойчивостью за счет того, что давление веса нагруженных полок приходится на пол. Конструкция изготавливается из вертикальных балок и горизонтальных брусьев, на которые крепятся полки, имеет жесткое соединение, что обеспечивает безопасность. Подразумевает установку на стену на постоянное место без возможности перемещения. Они удобные в эксплуатации, устойчивые и прочные.
Металлические стеллажи наиболее крепкие и выдерживают большой вес, деревянные подходят для нетяжелых вещей и просты в самостоятельном изготовлении. Монтаж такой системы хранения не требует специальных инструментов и навыков.


Более распространены сборные металлические стеллажи для гаража, которые также можно купить на любом рынке и без особых усилий собрать самостоятельно. В отличие от стационарных, они изготавливаются из перфорированного металлического профиля, а полки можно закрепить на любой высоте в зависимости от потребностей. Такие стеллажи удобнее и вместительнее и позволяют хранить и комплект запасных колес, и крупногабаритные грузы. Могут оборудоваться ящиками, которые дополнительно могут хранить нужные вещи.
Передвижные стеллажи делают преимущественно из металлических конструкций. Их оснащают небольшими колесиками, которые позволяют свободно перемещать инструменты по гаражу. Можно будет без труда перенести ящики с инструментами к верстаку и продолжать работу.
Хотя подвижная конструкция мобильная и облегчает работу с необходимыми предметами, её грузоподъемность гораздо меньше, чем у прочих стеллажей. Такой стеллаж продается в разобранном виде и без особых усилий и умений собирается в гараже подобно конструктору. Выдерживаемая нагрузка – не более 100 кг.


Металлический островной стеллаж представляет собой устойчивую систему из нескольких полок, которые можно менять местами по высоте. Подобная конструкция предназначена для более легких предметов и четко сбалансирована, чтобы не допустить возможного обрушения полок и завала из-за тяжести. Есть центральные стеллажи, к которым можно подходить со всех сторон, и угловые, устанавливающиеся в углу помещения.Выдерживаемая нагрузка – не более 50 кг.


Вращающийся стеллаж предназначен для хранения и складирования мелких, штучных изделий, болтов, гвоздей, крючков, ключей и прочих небольших вещей, которые легко теряются и трудно отыскиваются в ящиках. Каждая мелочь будет на виду. Такие конструкции удобны, не занимают много места (рационально будет установить на верстаке) и освободят пространство для более массивных деталей. Выдерживаемая нагрузка – не более 50 кг.


Модульные стеллажи – многофункциональные изделия, состоящие из отдельных блочных элементов, которые могут соединяться между собой, словно конструктор, в удобную систему хранения. Вы можете сделать именно то, что требуется вам, а если появится нужда в дополнительном пространстве, к имеющемуся стеллажу можно прикрепить еще секции и полки. Выдерживаемая нагрузка – до 150 кг.


Подвесные полки не совсем можно назвать стеллажами, но такую удобную и универсальную конструкцию вполне можно применять в гаражах. На них поместится всё ненужное, то, что не особо пригодится в работе, мелкие детали, нетяжелые предметы. Настенные системы практичны и доступны, сделать такие полки не составит труда из любых подручных материалов, а потолочные, если их прикрепить с помощью специальных крепежных элементов под потолком на таком уровне, чтобы не задевала крыша автомобиля или ваша голова, и вовсе скроют от чужих глаз все лишние предметы. Нагрузка не должна быть большой, ведь навесные полки могут удержать вес намного меньше, чем стационарные стеллажи. Выдерживаемая нагрузка – не более 100 кг.
Подвесные полки: быстро и практично
Не во всех случаях есть необходимость создавать стеллаж, поскольку он займет ощутимо много места. С другой стороны, в гараже любого размера всегда остается незадействованным верхнее пространство, которое можно легко занять под навесные полки.
Конструктивно вполне реально выполнить своими руками любой вариант такого приспособления для гаража:
Настенные полки можно оборудовать как в открытом, так и в закрытом исполнении. Удобны своей вместительностью, а также простотой возведения. Их можно подвесить на петлю или с помощью анкера. В первом случае получается разборная конструкция, расположение которой удобно поменять в любой момент. Во втором – полка приобретает дополнительную прочность за счет надежности монтажа ссо стеной.
Подвесные полки крепятся к потолку. Благодаря особенностям своего расположения они занимают именно ту часть пространства, которая не используется, и совершенно не мешают авто. К недостаткам конструкции можно отнести ее недостаточную надежность – может немного раскачиваться при соприкосновении. Тем не менее, для небольших предметов (молоток, пассатижи, шуруповерт, краска и т.п.) вполне сгодится.
Интересный вариант хранения инструментов – сделать одну стену или ее фрагмент в виде щитка. Щит крепится с помощью анкеров, а далее на него подбираются и монтируются полки небольших размеров.
Щит можно соорудить и самостоятельно из деревянных брусьев, как показано на фото.
СОВЕТ. Такой щит лучше расположить с той же стороны, с которой будет стоять верстак, чтобы все инструменты были в буквальном смысле под рукой.
Для хранения габаритных предметов небольшой массы можно сконструировать подвесные полки, которые прикрепить под потолок с помощью шпилек.
Чтобы изготовить своими руками эти приспособления для размещения полезных предметов в гараже, понадобятся следующие материалы и инструменты:
шпильки и основа полки – чаще всего используется фанера или ДСП, толщина которых зависят от предполагаемых нагрузок;
большие анкера (из расчета 4 единицы на 1 полку);
гайки шестигранные и обычные;
шайбы плоские и специальные шайбы Гровера (из расчета 4 единицы на 1 полку.
Из инструментов понадобится стандартный набор, описанный выше. Последовательность действий следующая:
- Рассчитываются и выпиливаются полки соответствующих размеров. Их лучше сразу обработать грунтовкой и лаками и дать полностью просохнуть.
- На них делаются разметки для крепления. В случае, если полка будет длинной, несущие опоры нужно располагать на расстоянии не более 60 см.
- Торцы фанеры лучше усилить металлическим профилем, чтобы обеспечить максимальную надежность конструкции.
- С краев отмечаются пазы, в которые будут монтироваться шпильки. Их следует разместить как минимум на 5-7 см с запасом от края, чтобы древесина не раскрошилась во время длительных нагрузок.
- Все пазы и отверстия просверливаются, затем вдоль стены и/или потолка намечаются будущие места креплений.
- Отверстия на стене также высверливаются, после чего в них до упора входят анкера.
- Шпильки соединяются с анкерами, как показано на фото.
- Наконец, одевается сама полка и закрепляется с помощью обычных шайб и шайб Гровера.
- Уровнем проверяется правильность расположения в случае необходимости вносятся коррективы.
Если полка монтируется к потолку, можно усилить ее соединение со стеной с помощью металлических уголков – тогда изделие не будет раскачиваться и прослужит намного дольше.
Схематично вся технология показана на рисунке.
Изготовление полки-щита
Технология изготовления своими руками такого приспособления для гаража имеет свои отличия по сравнению с монтажом обычных полок:
- Сам щит изготавливается из прочной фанеры, параметры которого выбираются по ситуации. Визуально щит должен полностью перекрывать поверхность рабочего стола.
- На щите выделяется место для всех полок и делаются соответствующие пометки.
- Далее в поверхности конструкции проделываются все отверстия, в которые входят дюбеля. Именно на них будут крепиться крючки, на которых разместятся все инструменты.
- Крепление щита к стене осуществляется с помощью кронштейнов. Соответствующие отверстия изготавливаются с помощью перфоратора.
Схематично все шаги отражены на рисунке.
Делаем металлический стеллаж с полками из дерева
Популярный вариант обустройства гаражей – конструкция с металлическим каркасом (он будет стоять без преувеличения десятилетиями) и деревянными полочками. Вертикальные стойки таких стеллажей вы можете сделать из прямоугольных профилей с размерами одной из сторон 4–5 см либо из уголка с полкой 3–5 см.
Сам каркас делается из уголка с 1,5–2,5-сантиметровой полкой и прикручивается болтами к вертикальным направляющим или приваривается к ним. Сварное соединение держит конструкцию максимально прочно, выполнять его быстрее и проще. С болтами мороки больше, но зато вы получаете возможность при необходимости изменять высоту полочек стеллажа.
Полки изготавливаются из досок толщиной 1,5–2,5 см. В этом случае они будут по-настоящему прочными. Можно делать их и из обычной либо ламинированной фанеры или древесно-стружечных изделий. Деревянные полки перед монтажом обязательно предохраняют от влаги и грибка – промасливают и окрашивают.

Металлический стеллаж в гараже
Таким образом, схема подготовки комплектующих для стеллажа, а затем их сборки и установки выглядит следующим образом:
Болгаркой режем по заданным размерам металлические заготовки. Размечаем положение стоек по вертикали и сразу отмечаем места, где будут фиксироваться полочки
Свариваем (берем на болты) уголки (здесь важно контролировать горизонтальность расположения элементов). Наносим грунтовку на каркас и окрашиваем его коррозионно-стойким составом
Нарезаем полочки из древесины и «примеряем» их, ставя поперек каркаса. Можно выполнять установку досок и вдоль, но в этом случае они могут под весом больших инструментов и запчастей прогибаться. Пропитываем (красим) деревянные изделия и крепим их с металлическим каркасом универсальными саморезами
Желательно подгонять доски друг к другу как можно плотнее.
Стеллаж готов. Если вы не совсем уверены в высокой устойчивости конструкции, можно дополнительно прикрепить ее к стене гаража стальными кронштейнами.
Универсальная мастерская
Во многих случаях гараж служит универсальной мастерской. Здесь хранятся инструменты на все случаи жизни: и для ремонта автомобиля, и для починки домашней мебели.
Эта функция значительно расширяется, если гараж выстроен при загородном доме или на даче. Здесь хозяин просто обязан быть на все руки мастером — проложить электропроводку к беседке, заточить нож и топор, отремонтировать газонокосилку, заправить и смазать снегоуборщик, выстругать новый деревянный брус для прохудившейся опоры под виноград…
Все эти хлопотные работы требуют различных инструментов и приспособлений, которые, вероятно, у вас уже давно имеются.
Но как их удобно и рационально разместить?
Зонирование гаражного пространства
Прежде всего, зайдем в гараж с рулеткой, карандашом, блокнотом и твёрдым желанием избавиться, наконец, от хлама, который годами жаль было выбрасывать — а вдруг когда-нибудь пригодится?
Основы дизайна подобных производственно-складских хозяйственных помещений предполагают их четкое функциональное зонирование.
Но между тем, вы уже давно, сами того не ведая, распределили гараж на функциональные зоны.
В одной, при входе, хранится нечто, необходимое под рукой ежедневно, а в дальнем углу пылится редко востребованное. Мелкие инструменты вперемешку сложены в небольшую коробку, тяжелые молотки и кувалды ржавеют под стеной на полу. Где-то кучкой стоят ёмкости с антифризом и маслом для трансмиссии.
Это интуитивно верное распределение мы применим, проектируя упорядоченное размещение инструментария.
Сперва прикинем и начертим
Определим стену, вдоль которой будем сооружать стеллажи и полки для инструментов. Данные о её высоте и ширине, занесённые в блокнот, станут отправной точкой для чертежа будущих сооружений хранилища.
Приняв решение по месту размещения инструментов, разделим, в свою очередь, «инструментальную» зону на чёткие структуры, где будут находиться инструменты, приспособления и крепёж:
- для автомобиля (слесарные);
- для электротехнических работ;
- для сварочных работ;
- для столярных работ.
Как можно сделать стеллаж в гараже своими руками? Фото, чертежи самодельных полок

Гараж — это не только место стоянки автомобиля. Очень часто именно в гараже мы храним те или иные вещи, которые не нужны нам в данный момент, но обязательно понадобятся чуть позже.
Чтобы внутри гаража не возникал беспорядок, очень важно правильно использовать пространство для хранения вещей. Поэтому ни один хороший гараж не обходится без надежной системы хранения.
Стеллаж — это один из самых главных атрибутов гаража и, если по какой-то причине в вашем гараже ещё его нет, то давайте узнаем, как сделать в гараж стеллаж своими руками из уголка, из профиля, из металла и дерева
Стеллаж — это один из самых главных атрибутов гаража и, если по какой-то причине в вашем гараже ещё его нет, то давайте узнаем, как сделать в гараж стеллаж своими руками из уголка, из профиля, из металла и дерева.
Сначала разберёмся, какие бывают стеллажи и из каких материалов они могут быть изготовлены.
По виду конструкции стеллажи делятся на:
- Не передвижные (стационарные) полки. Такие полки
намертво
крепятся к стене гаража и могут стоять длительное время. Это самый устойчивый тип стеллажей, которые могут выдержать наиболее тяжелые предметы и инструменты. - Модульные системы полок. Такие системы полок продаются во многих строительных и мебельных магазинах. Их быстро и легко можно собрать и разобрать. А также по желанию можно добавлять к ним новые сегменты.
- Мобильные (передвижные) стеллажи на колёсиках. Отличаются небольшими размерами и ограничением по весу вещей. Удобны тем, что в любое время их можно передвинуть на другое место, при этом не разбирая стеллаж.
- Навесные полки. Крепятся на стены или под потолком. Не предназначены для хранения тяжелых предметов.
- Небольшие крутящиеся стеллажи. На них очень удобно хранить мелкие инструменты, детали, кабели и прочую нужную
мелочь
. Но в продаже их можно встретить не часто.
Системы хранения для гаража могут быть изготовлены из разных материалов:
- металл. Самый прочный и долговечный вид стеллажей. Они не боятся температурных перепадов, не горят и выдерживают любой вес;
- дерево. Такие стеллажи дешевле металлических и менее долговечны из-за частой смены температур и уровня влажности внутри гаража;
- пластик. Конструкции с полками из этого материала самые дешевые и легкие по весу. Рассчитаны на хранение легких вещей;
- комбинация нескольких материалов. Например, деревянный каркас и пластиковые полки.
Нужный тип конструкции выбирают, исходя из веса вещей и объёма свободного места, для хранения которых делают полки и стелажжи в гараже.
Как выглядят сделанные своими руками стеллажи для гаража — фото:

Функциональное назначение
Гараж со стеллажами и он же без них – две большие разницы. Любовно разложенный по кучкам на полу инвентарь вскоре вызовет непреодолимое желание соорудить полки или открытые шкафы для хранения инструмента. И сразу все встанет на свои места: у каждой детали появится отдельная ячейка, пользоваться размещенными вещами будет легко и комфортно.
Изготовить необходимое оборудование можно разными способами:
- из дерева и ДСП;
- металлические полки;
- комбинированная конструкция.
Каждый вариант оправдан – стоимостью, простотой изготовления или прочностью. Какой из них выбрать, решать заказчику.
Создание полезных приспособлений для гаража своими руками
Чтобы осуществлять ремонтные и сервисные работы, потребуется соорудить смотровую яму в гараже своими руками, размеры которой будут соответствовать габаритам авто, а также верстак для удобной работы, плюс снабдить помещение станками.
Основной набор инструментов и материалов для создания самодельного верстака для гаража включает:
- доски и деревянные бруски;
- крепежные элементы и стяжки;
- рубанок и другие инструменты для обработки дерева;
- лакирующий и столярный клеевые составы;
- наждачную бумагу и олифу.

Пример размещения в гараже полезных приспособлений: 1 — верстак с ручными станками, 2 — стеллажи и шкафы, 3 — стол для проведения различных ремонтных работ, 4 — полка для хранения шин, 5 — смотровая яма
Технология изготовления верстака в гараже своими руками: фото, чертежи
Верстак состоит из столешницы и подстолья, а также нескольких устройств зажимного типа. Высоту верстака в гараже следует подбирать с учетом собственного роста. Можно взять в качестве ориентира высоту кухонного стола в доме, за которым удобно работать. Обязательно составьте для создания верстака для гаража своими руками чертежи.
Обустройство гаража: как сделать верстак в помещении:
| Этап работы | Детали, размер в см | Тип крепления |
| Сборка столешницы | 20 досок (5х10х200) с пазами 2,5х2,5 в 5-ом и 16-ом элементе (шаг 25) | Клеевой состав металлические стяжки |
| Сушка | — | — |
| Изготовление ножек (4 шт.) | Брусок (10х10х80) с пазами под кронштейны на передних опорах | Кронштейны |
| Сборка основания подстолья | Рамы (2 шт.) из досок (5х10) | Соединение «в шип» на глубину 2,5 см и болты |
| Фиксация боковых и задних опорных стенок | Плиты ДСП (толщина 10 мм) | Шурупы |
| Фиксация столешницы к верхней раме | — | Болты |
Заключительная обработка предполагает пропитку готового изделия олифой и вскрытие лаком.
Рекомендации по созданию смотровой ямы в гараже своими руками
Не существует определенных размеров смотровой ямы в гараже. В качестве основы берутся габариты автомобиля.
Как сделать смотровую яму в гараж с оптимальными параметрами:
- Ширина подбирается с тем расчетом, чтобы внутри было достаточно места для работы. Размер ограничен расстоянием, на которое посажены колеса авто. Каждое колесо нуждается в небольшой площади для выполнения маневров. Средняя ширина ямы составляет 0,8 м.
- Длина ямы ограничивается длиной машины. К этому показателю следует добавить 1 м.
- Для расчета глубины используется рост владельца гаража. К нему прибавляется еще 10-15 см.
Как правильно сделать смотровую яму в гараж с использованием разных материалов:
| Материал | Толщина стенок, см |
| Керамический кирпич | 12-25 |
| Бетон | 15 |
| Строительные блоки | 20 |
Котлован вырывается с учетом оптимальной ширины ямы, материала, выбранного для стенок, а также толщины гидроизоляционного слоя. Этапы создания ямы:
- разметка;
- строительство котлована;
- обустройство котлована;
- строительство стен;
- прокладка освещения.
Для гидроизоляции стен применяется специализированная гидрофобная пропитка.

Схема обустройства смотровой ямы: 1 — стенки из пеноблоков, 2 — гидроизоляция, 3 — бутовая кладка. 4 — уголок размером 50х50х4 мм
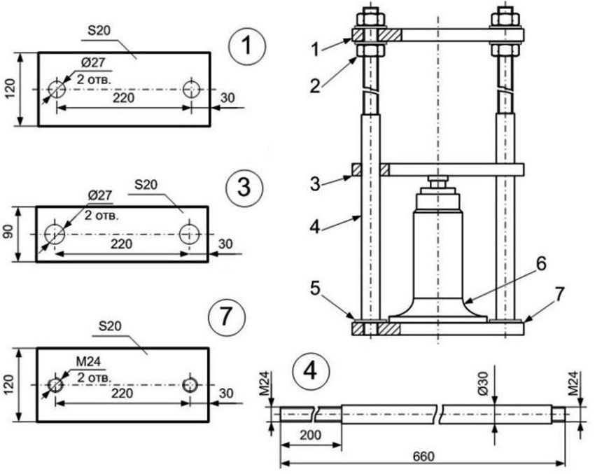
Изготовление пресса для гаража своими руками
Для создания пресса следует изготовить из 4 отрезков металлических труб каркас размером 178х80 см. Эти элементы соединяются методом сварки. В работе рекомендуется руководствоваться чертежами, заранее подобранными или составленными. После этого нужно установить:
- фиксатор;
- съемный упор;
- бутылочный домкрат (гидравлический).
Можно использовать для рассмотрения подробной технологии создания полезных приспособлений для гаража своими руками видео-материалы. Такие наглядные рекомендации помогают сориентироваться в размерах, освоить пошаговые инструкции и представить, какой внешний вид должна иметь готовая конструкция.

Схема изготовления гидравлического пресса: 1 — верхняя силовая платформа, 2 — гайки, 3 — нижняя платформа, 4 — шпильки диаметром 30 мм, 5 — нижняя резьба шпилек, 6 — гидравлический домкрат бутылочного типа; 7 — основание толщиной 20 мм
Обустройство гаража можно сделать собственными руками. На этом список полезных приспособлений не заканчивается. Его всегда можно дополнить любыми интересными идеями. Главное, чтобы гараж полностью соответствовал личным требованиям в отношении комфорта и удобства.
https://youtube.com/watch?v=D1BKvgCBg8Q





































