Отопление в частном доме из полипропиленовых труб своими руками
Главные компоненты отопления — генератор тепла, трубы и приборы отопления. Остальное оборудование обеспечивает работоспособность системы при различных нагрузках. Оснащение системы дополнительными элементами зависит от размеров дома и модификации выбранного котла. Заданные параметры работы агрегата обеспечивает группа безопасности, расширительная емкость с переливной трубой, нагнетатель и устройство регулировки давления.
Если циркуляционный насос не встроен в котловой контур, то нагнетатель устанавливают на обратной линии трубопровода, в непосредственной близости генератора тепла. Место установки расширительного бачка закрытого типа для отопления — перед циркуляционным насосом. Группу безопасности монтируют на подающей линии возле котла.
Полипропиленовые трубы – их преимущества перед металлическими
Раньше, при монтаже отопления металлическими трубами, возникала проблема с изгибами. Приходилось делать добавочное резьбовое соединение в виде колена, что не слишком хорошо. Ведь чем больше отдельных частей, тем уязвимее конструкция. Конечно, можно было изогнуть трубопровод под нужным углом, но без специального оборудования такие действия были сложно выполнимы. Возникала опасность излома, что влекло за собой потерю давления в системе. Еще одной проблемой становилась коррозия, которая со временем приводила в негодность металл.
Сейчас, если монтируется отопление из полипропиленовых труб, этих проблем нет. Этот материал с легкостью изгибается в любом направлении. Конечно, это не говорит о том, что с ней можно делать все, что заблагорассудится, во всем нужно знать меру.
По поводу фитингов (соединений) можно сказать, что качество их намного выше, чем у металлических. При правильном подходе спаянный стык или колено прослужит не меньше, чем цельная труба. Иными словами, бояться делать соединения не стоит. Основное, чему стоит научиться для монтажа отопления полипропиленом – это владение утюжком (прибором для пайки труб и фитингов). Это достаточно просто и особых сложностей не составит.

Преимуществом, о котором нельзя не упомянуть, является и то, что этот материал не подвержен коррозии, что в разы увеличивает срок службы. Многие специалисты говорят, что качественно спаянное из полипропиленовых труб отопление можно назвать вечным.
Преимущества и недостатки полипропиленовых труб
Говоря о преимуществах и недостатках полипропиленовых труб, принято сравнивать их с металлопластиковыми. Стальные трубы, даже из нержавеющей стали сейчас используются крайне редко, из-за своей дороговизны, сложности монтажа и недолговечности. Именно поэтому сейчас систему отопления монтируют на основе пластиковых или металлопластиковых труб.
Достоинства системы отопления из полипропилена:
- Дешёвые фитинги. Соединительные фитинги для пластиковых труб делают из того же полипропилена, поэтому стоят они гораздо дешевле, чем фитинги для металлопластиковых труб, сделанные из латуни.
- Паянное соединение делается монолитным. Простыми словами припаянный уголок или тройник становится продолжением полипропиленовой трубы, что является залогом прочного соединения. Недостатком механически фитингов является то, что при нагревании и остывании металл соответственно расширяется и сжимается, что со временем приводит к ослаблению соединения и протеканию влаги из системы. Поджимать пару раз в год все гайки в большом доме – занятие не из приятных.

Недостатки изделий из полипропилена:
- Полипропиленовую трубу нельзя гнуть. Если металлопластиковую трубу можно загнуть практически под любым углом, то здесь без специальных уголков не обойтись.
- Процесс пайки необходимо проводить очень внимательно. Труба каждого диаметра греется только на протяжении строго указанного времени. Перегрев или недостаточный нагрев может сказаться на качестве соединения и его надежности.
- Для монтажа полипропиленовых труб необходим специальный паяльник. Стоит он не слишком дорого, но для одноразового использования покупать его не стоит, лучше взять его напрокат.
Виды полипропиленовых труб для системы отопления

Вопреки существующему мнению, не все пластиковые трубы можно использовать для отопительной системы. Перед тем, как совершить покупку труб, необходимо знать, какая маркировка на них нанесена и что она означает.
- Трубы pn10. Это тонкостенные трубы, работа которых рассчитана на максимальное давление 10 атм.
- Трубы pn16. Имеют рабочее давление до 16 атмосфер. Обычно толщина стенок такой трубы составляет 3,2 мм, и выдержать она может температуру теплоносителя на уровне до +85⁰С.
- Трубы pn20. Имеют номинальное давление до 20 атм.
Все вышеперечисленные трубы используются исключительно для холодного водоснабжения. Дело в том, что они имеют высокий коэффициент линейного расширения. При постоянном нагреве такая труба может прогибаться и менять форму.

Для отопления применяются только армированные трубы. Армирующий слой изготавливают из фольги или стекловолокна. Благодаря этому они выдерживают температуру нагрева свыше +95⁰С.
Наиболее оптимальной для отопления является труба pn25 армированная фольгой. Такая труба выдерживает давление до 25 атм, и способна долго работать с температурой до 100⁰С.
Обычно маркировка трубы выглядит следующим образом:
- PPR-GF PN 25 25×2 класс ххххх ТУ ххххххх.
- PPR-GF означает, что труба сделана из рандом сополимера. Это наиболее популярный материал для труб отопления и горячего водоснабжения.
- PN 25 – номинальное давление для работы данной трубы. Считается, что при таком давлении труба должна прослужить около 50 лет.
- 25 – внутренний диаметр трубы в мм.
- 4,2 – толщина стенки в мм.
Далее следует указание класса трубы и технической документации на ее изготовление.
Технические характеристики полипропиленовых труб для отопления
Аббревиатуру, с информацией о рабочих параметрах изделия, наносят на стенки труб. Базовая маркировка полипропилена (РР) соответствует международным стандартам:
- логотип фирмы производителя;
- буквенное обозначение и дополнение о модификации изделия (PP-random, PPRC, PPs);
- условное давление (PN25 МПа) рабочей среды;
- внешний диаметр и размер стенки изделия;
- класс эксплуатации;
- предельно допустимое рабочее давление в барах, которое опосредованно указывает на срок службы изделия;
- стандарт продукта.

Полипропиленовые трубы могут быть армированы стекловолокном или алюминием
Описание конструктивных особенностей, назначения и области применения продукта приводит производитель в техническом паспорте изделия. Таблица, в качестве примера, приводит данные о продукции производителя VALTEC (Италия):
| Класс | Место применения | Рабочее давление, бар | |
| Стекловолокно | Алюминий | ||
| 1 | Горячее водоснабжение, Т = 60°С | 13 | 14 |
| 2 | Горячее водоснабжение, Т = 70°С | 10 | 11 |
| 3 | Теплые полы, Т = 50°С | 14 | 18 |
| 4 | Теплые полы, Т = 70°С | 10 | 13 |
| 5 | Радиаторное отопление (с учетом типа армирования трубы: алюминиевая фольга Т = 90°С, стекловолоконная фибра Т = 90°С) | 6 | 9 |
Изделия с внутренней вставкой алюминиевой фольги применяют преимущественно для отопления. Армирование полипропиленовых труб стекловолокном также позволяет их использование в радиаторных контурах, теплых полах и горячем водоснабжении частных домов. Однако трубы с внутренним слоем из стекловолоконной фибры допускают незначительное удлинение линейных участков при нагреве и проницаемость кислорода.
Технические характеристики армированных труб из полипропилена (производитель VALTEC):
| Физические свойства | Алюминиевая фольга | Стекловолоконная фибра | ||||
| Диаметр и толщина стенки трубы, мм | ||||||
| 25х4,2 | 32х5,4 | 40х6,7 | 25х3,5 | 32х4,4 | 40х5,5 | |
| Внутренний диаметр | 16,6 | 21,2 | 26,6 | 18 | 23,2 | 29 |
| Номинальное давление, PN, бар | 25 | 20 | ||||
| Масса погонного метра трубы, кг | 0,262 | 0,446 | 0,880 | 0,235 | 0,378 | 0,590 |
| Плотность PPR, г/см³ | 0,91 | 0,91 | ||||
| Наполнение трубы, литров в 1 пгм | 0,217 | 0,353 | 0,556 | 0,254 | 0,423 | 0,660 |
| Удельная теплоемкость при кДж/(кг*ºС) | 1,75 | 1,75 | ||||
| Предел усилия на разрыв, МПа | 35 | 35 | ||||
| Кислородопроницаемость, мг/м² в сутки | − | |||||
| Эквивалентная шероховатость внутренней поверхности, мм | 0,01 | 0,015 | ||||
| Линейное увеличение длины 1/ºС | 3,1х10-5 | 6,2х10-5 | ||||
| Коэффициент теплопроводности, Вт/(м*ºС) | 0,24 | 0,15 |
Фитинги и вентили для систем отопления из полипропилена выполняют из аналогичного материалу труб random сополимера. Элементы без резьбы предназначены для соединения в раструб, при котором труба вставляется в корпус фитинга. Внутренний диаметр соединительных деталей (уголков 90? и 45?, муфт, переходников, тройников, крестовин и кранов) соответствует наружному диаметру трубы. Линейное температурное расширение нивелируют готовые компенсаторные петли или сварные конструкции самостоятельного исполнения.
Фиксаторы (одиночные и блоки клипс), предназначены для крепежа прямых, горизонтальных или вертикальных участков трубопровода вдоль стен. Шаг установки крепежа (рекомендует производитель) зависит от размера трубы и качественных параметров теплоносителя. Хомуты из аналогичного сырья предназначены для крепления ПП труб большого диаметра. Крепление может быть жестким или плавающим, небольшой зазор обеспечит возможность свободного хода при тепловом расширении.

Строение армированной трубы: 1 — полипропилен; 2 — алюминиевая фольга; 3 — полипропилен; S — общая толщина трубы; S1* — толщина основной трубы; d — наружный диаметр; dy* — наружный диаметр основной трубы
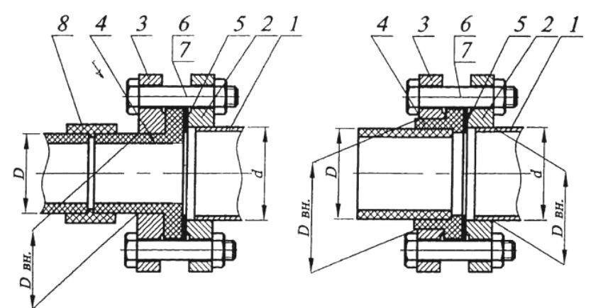
Соединение со стальными трубами или арматурой получают при помощи комбинированных соединительных деталей. Разборные фитинги (американки) для перехода с металла на полимер выпускают с внутренней или внешней резьбой из гальванизированного металла с одной стороны, и пропиленовой вставкой с другой.
Комплект фасонных и соединительных деталей подбирается индивидуально для каждого помещения в доме. Количество и марки фитингов зависят от конфигурации системы отопления и вида отопительного оборудования.

Соединение полипропиленовой и стальной трубы: 1 — стальная труба; 2 и 3 — стальной фланец; 4 — буртовая втулка; 5 — прокладка; 6 и 7 — крепежные элементы; 8 — муфта
Пайка полипропиленовых труб
Одной из самых важных и сложных операций, связанных с обустройством водопровода из полипропилена своими руками, является пайка труб. Она может выполняться как на столе, так и непосредственно по месту монтажа. В первом случае собираются сложные участки с множеством поворотов. Впоследствии они устанавливаются на клипсы, прикрученные к стене. Пайка полипропиленовых труб по месту нужна для того, чтобы соединить все эти участки в единую систему подачи холодной и горячей воды.
Паяльник для полипропиленовых труб с цилиндрическим нагревательным элементом
Шаг 1. Состыкуйте подготовленную для пайки трубу с соответствующим фитингом «всухую». Если она входит в него свободно – значит, вы столкнулись с браком или изделиями низкого качества. Паять их друг с другом нежелательно – впоследствии данное соединение в линии водопровода будет протекать.
Трубу нужно состыковать с фитингом
Шаг 2. Специальными ножницами отрежьте кусок трубы нужной длины.
Резка трубы
Шаг 3. Зачистите торец полипропиленовой трубы.
Шаг 4. Обезжирьте и насухо вытрите конец полипропиленовой трубы, предназначенной под пайку.
Обезжиривание конца трубы
Шаг 5. Отметьте маркером, на какую глубину отрезок трубы войдет в фитинг.
Отмечается глубина входа в фитинг
Шаг 6. Подберите насадку под внешний диаметр трубы и внутренний фитинга, установите на нагревательный элемент аппарата для пайки.
Шаг 7. Включите инструмент, установите на нем температуру +260°С и дайте прогреться. Когда аппарат для пайки будет готов – зажжется соответствующая лампочка на нем.
Включение паяльника
Шаг 8. Одновременно зафиксируйте на соответствующих концах насадки фитинг и полипропиленовую трубу. При этом они должны быть сразу повернуты в правильном направлении.
Фиксация трубы и фитинга
То же, но вблизи
Шаг 9. Труба и фитинг должны прогреваться при температуре +260°С от 5 до 12 секунд, в зависимости от диаметров изделий.
Шаг 10. После этого снимите с насадки трубу и фитинг, вставьте один в другой. Чтобы повернуть и правильно сориентировать изделия друг относительно друга, у вас будет около 4-5 секунд. Затем в течение некоторого времени держите трубу и фитинг неподвижно, чтобы они надежно спаялись.
Труба помещается в фитинг
Таблица, показывающая зависимость времени нагрева и фиксации при пайке полипропиленовых труб от их диаметра
Разрез, показывающий пример качественной пайки полипропиленовых труб
После этого соединение полностью готово к монтажу. А пускать по нему воду можно уже через час после завершения пайки. При качественных материалах и инструменте, а также при полном соблюдении инструкций у вас получится соединение с высочайшей степенью прочности и герметичности.
Водопровод из полипропилена своими руками
У полипропиленовых труб много преимуществ
Маркировка на трубах из полипропилена
PPR-трубы
Армированные полипропиленовые трубы
Полипропиленовые трубы с алюминиевым армированием. Также известны как Stabi
Трубы, армированные стекловолокном, для отопления
SONY DSC
PN10
PN16
PN20
PN25
Таблица типовых размеров труб из полипропилена марок PN10, PN20 и PN25
Закрытый монтаж трубопроводов
Открытый монтаж трубопровода
Короб для труб своими руками
Последовательная разводка труб
Параллельная разводка водопровода
Схемы подключения водозаборной арматуры
Демонтаж старого водопровода
Разметка труб и фитингов водопровода из полипропилена
Установка клипс
Сборка основных линий
Монтаж трубопровода из полипропилена
Процесс монтажа водопровода
Установка подводящих труб и арматуры
Паяльник для полипропиленовых труб с плоским нагревательным элементом
Пальник для полипропиленовых труб с цилиндрическим нагревательным элементом
Трубу нужно состыковать с фитингом
Резка трубы
Обезжиривание конца трубы
Отмечается глубина входа в фитинг
Включение паяльника
Фиксация трубы и фитинга
То же, но вблизи
Труба помещается в фитинг
Таблица, показывающая зависимость времени нагрева и фиксации при пайке полипропиленовых труб от их диаметра
Разрез, показывающий пример качественной пайки полипропиленовых труб
Схема устройства полипропиленовой трубы
Полипропиленовые трубы MeerPlast и соединительные детали к ним (фитинги)
ПП изделия подходят для устройства отопительных систем
Водопровод из полипропиленовых труб
Демонтаж водопровода
Короб из гипсокартона в ванной комнате
Установка счетчиков воды
Монтаж водопроводной системы
Система монтируется после установки и подключения канализации, трубы которой должны находиться под небольшим наклоном. Сам монтаж реально провести и в одиночку, но намного проще и быстрее делать все вдвоем, особенно если нет предварительного опыта в подобном деле. Один человек обычно соединяет между собой детали, а второй держит паяльник.
Во время установки системы понадобится место для резки труб и сборки отдельных узлов. Это можно делать прямо на полу или на верстаке. Узлы намного проще собирать на горизонтальной поверхности, а уже потом крепить их к общей системе. Направление сборки водопровода – от потребителей (ванны, раковины, унитаза) к вводу.
Монтаж водопровода в квартире своими руками
Если трубы горячего и холодного водоснабжения проходят параллельно, первая всегда должна быть выше, чтобы на поверхности второй не накапливался конденсат. Прокладываются они вертикально или горизонтально, поворачиваются и стыкуются под прямым углом. При пайке для нагрева поверхностей соединяемых элементов должен быть свободный ход трубы не менее 8 см. Об этом нужно помнить, выбирая место «последней пайки». В крайнем случае, можно использовать два паяльника: для фитинга и для трубы.
Технология пайки полипропилена:
на паяльник крепится нужная насадка соответствующего диаметра; включается питание паяльника, выбирается температурный режим. Температура плавления указывается на самих трубах и в большинстве случаев составляет 260ºС. При достижении нужной температуры срабатывает реле, в некоторых моделях загорается/гаснет лампочка; отрезается труба нужного размера с помощью специальных ножниц. Ее длина должна быть больше расчетной на 30 мм, так как ее концы с двух сторон будут заходить в фитинги на 15 мм; спаиваемые поверхности очищаются от пыли и обезжириваются специальным средством. Они должны быть ровными и гладкими, без дефектов и деформаций; фитинг прикладывается к трубе в том положении, в котором они будут соединяться между собой. На трубе отмеряется 15 мм от края и ставиться отметка. Такая же отметка наносится и на фитинг; на насадку надевается фитинг, а в нее – труба. Желательно, чтобы элементы надевались одновременно для равномерного прогрева или же сначала фитинг, стенки которого толще, поэтому и прогреваются дольше. Во время нагревания нельзя двигать детали, вращать их или деформировать; время нагрева зависит от диаметра элементов: для 20 мм – 4-5 с, для 25 мм – максимум 7 с, для 32 мм – максимум 10; с насадки одновременно снимаются фитинг и труба и быстро, но аккуратно соединяются между собой
Важно при соединении не нарушать их соосность, не прокручивать. Вся расплавленная часть трубы должна полностью войти в фитинг. Нанесенные ранее метки на их поверхностях должны совпасть; соединение удерживается в нужном положении 5 с, после чего нужно осмотреть результат пайки
Нанесенные ранее метки на их поверхностях должны совпасть; соединение удерживается в нужном положении 5 с, после чего нужно осмотреть результат пайки
Внутри трубы не должно быть перегородки из расплавленного полипропилена, что является свидетельством перегрева поверхности изделия; через 2-3 минуты соединение будет готово к дальнейшему использованию
Нанесенные ранее метки на их поверхностях должны совпасть; соединение удерживается в нужном положении 5 с, после чего нужно осмотреть результат пайки. Внутри трубы не должно быть перегородки из расплавленного полипропилена, что является свидетельством перегрева поверхности изделия; через 2-3 минуты соединение будет готово к дальнейшему использованию.
Устанавливаем трубы полипропиленовые водопроводные
Первый раз наверняка соединение окажется перекошенным, перегретым или деформированным, поэтому для начала стоит потренироваться на ненужных обрезках, чтобы лучше понять технологию и «набить руку». В целом же монтаж полипропиленовых труб своими руками отличается простотой, так что под силу каждому. После окончания работы с паяльником еще горячая насадка протирается ветошью.
Соединенные узлы закрепляются на стенах или на полу, формируя водопроводную систему, трубы оборачиваются изолирующим рукавом и фиксируются на несущих конструкциях С-образными клипсами. На стенах крепятся выводы.
Как правильно осуществлять пайку полипропиленовых труб
Полипропиленовые трубы для водопровода
Устанавливаем трубы полипропиленовые водопроводные
Полипропиленовые трубы для монтажа
Монтаж водопровода из полипропилена своими руками
Монтаж полипропиленовых труб своими руками
Водопровод из полипропиленовых труб
Монтаж водопровода в квартире своими руками
Полипропиленовые трубы в конвекционных системах
Конвекционные системы из полипропиленовых труб очень популярны. Причина — легкость обработки материала, устойчивость к размерзанию, высокая герметичность, невысокая теплопроводность.
В «безнасосных» системах, выполненных по закрытому типу, при нагреве из воды выделяется много кислорода. Если магистраль выполнена из стальной трубы, она очень быстро покроется слоем ржавчины. Полипропиленовые изделия этого недостатка лишены. Направленный поток, движущийся по полипропиленовым рукавам, не встречает значительного сопротивления. На стенках ПП труб не образуются никакие отложения.
https://youtube.com/watch?v=5ixPbefe9p0
Варианты разводки
Схемы отопления в частном доме из полипропилена те же, что и из других материалов: однотрубная, двухтрубная, коллекторная. Однотрубная наименее эффективна, ее можно использовать только в маленьких домах либо в коротких контурах: одна труба последовательно проходит через все радиаторы и возвращается к котлу в виде обратки.
По дороге теплоноситель остывает. Даже используя регуляторы на батареях, равномерного прогрева добиться не получится.
Схема однотрубной разводки отопления из полипропилена.
Двухтрубная – отдельные ветки для подачи и обратки. Эффективность выше, но основная проблема та же. Оптимальный вариант для больших домов – коллекторная (лучевая) разводка: от распределительного коллектора трубы подачи и обратки расходятся лучами к отдельными приборам или мини-контурам (что такое обвязка котла твердотопливного). Подача горячей воды на участки происходит одновременно.
Схема двухтрубной разводки отопления из полипропилена.
Схема коллекторной разводки отопления из полипропилена.
Разводка может быть верхней и нижней. В первом случае магистраль располагается на чердаке, от нее стояки спускаются к приборам или отдельным контурам. На чердаке обязательно должен быть клапан-воздухоотводчик. Этот вариант используется в системах с естественной циркуляцией (без насоса), а также рекомендуется для коттеджей больше одного этажа (система отопления двухэтажного частного дома). При нижней разводке магистраль находится под полом, стояки от нее уходят наверх.
Технические характеристики полипропиленовых труб для отопления
На рынке существует немало вариаций полимерных труб, но для горячего водоснабжения и отопления рекомендуется применять только полипропилен. Такие материалы, как ПВХ или ПНД являются слишком мягкими для данных целей, они лучше подойдут для подачи холодной воды, некоторые — для канализаций. Главные особенности, позволяющие использовать трубы из полипропилена в системах отопления, — это высокая прочность при достаточной легкости, а также способность сохранять работоспособность в агрессивных средах.
Труба полипропиленовая, подходящая для устройства отопления частного дома или в квартире, обладает представленными техническими характеристиками:
Способность выдерживать мощное давление. Вообще трубы PPR можно ставить на любые системы, существующие на данный момент. Давление, какое только могут выдерживать полипропиленовые трубы для отопления, напрямую зависит от постоянной рабочей температуры воды: чем сильнее нагрев, тем меньшее давление будет разрешено. Большинство изделий из полипропилена спокойно выдерживают давление в 4-6 атмосфер при том, что система будет нагреваться до +70 градусов.

ПП-трубы подходят для установки в любых системах отопления, так как способны выдерживать давление, поддерживаемое в сетях
Термоустойчивость. Оптимальная работа трубы отопления из полипропилена будет обеспечена даже при окружающей температуре воздуха в -15 градусов. Этот показатель не имеет особого значения на практике, но еще раз доказывает прочность изделий из PPR. Температурные характеристики этих труб будут такими:
- температура появления хрупкости – от -5 до -15 градусов;
- температура размягчения полимера – от 110-140 градусов;
- температура плавления – от 140 до 170 градусов.
Данные характеристики дают понять, что использование качественных полипропиленовых труб для отопления оправдано и безопасно во всех современных системах. Отопительная система может нагреться до указанного уровня размягчения только при очень высокой температуре теплоносителя (до 95 градусов), а таковой она бывает в очень редких случаях. Кратковременные скачки температур допускать можно без вреда для целостности полипропилена.
Низкая степень теплопроводности. На поверхности полипропиленовых труб отопления не образуется конденсат именно благодаря этому свойству. Сама температура трубы при этом будет максимально близкой к температуре теплоносителя.
Неподверженность влиянию коррозии. Полипропиленовые трубы для отопления гораздо лучше противостоят влиянию различных неблагоприятных сред. В отличии от изделий из металлов, они никак не реагируют на длительный контакт с влагой. Соли и другие примеси, какие только встречаются в водопроводной воде, полипропилену совершенно не страшны. Для того, чтобы произошло разложение полипропилена, материал должен вступить в реакцию с сильнодействующей кислотой. Чего в бытовых условиях, конечно же, не случается.

Для бесперебойной работы отопления и его долговечности важно правильно подбирать фитинги для труб
Продолжительный срок службы. Производители обещают, что при использовании полипропиленовых труб в отоплении о монтаже новых конструкций можно будет не задумываться на протяжении 50 лет. Это достаточно высокий показатель, так как срок службы, к примеру, стальных труб обычно не превышает 20-30 лет. Чугунные трубы имеют больший срок службы, но их установка сейчас популярностью не пользуется.
Эксплуатационный срок полипропиленовой трубы отопления будет зависеть от таких факторов, как постоянное давление, схема системы и наличие температурных перепадов. Также то, насколько правильно был сделан выбор соединительных элементов, напрямую влияет на показатели срока службы полипропиленовых труб отопления.
Полипропилен для отопления
Полипропиленовые трубы используются для транспортировки жидкого теплоносителя от котла к теплообменникам-батареям
При проектировании системы отопления стоит обратить внимание на:
- Диаметр. Чем больше сечение, тем меньше гидродинамическое сопротивление и дальше можно подавать теплоноситель.
- Материал. Для «тёплого пола» достаточно применять сшитый полиэтилен, для монтажа батарейного отопления используют армированную стекловолокном трубу для горячей воды, для обвязки котла лучше использовать термостойкую трубу PPS. Обвязку твердотопливного котла делают из металла.
- Протяжённость прямых участков трубопровода. Полипропилен имеет недостаток — линейное расширение. При нагреве изменяется длина трубы. Поэтому не стоит жёстко фиксировать угловые соединения, а на длинных прямых участках проектировать компенсационные петли и изгибы.
Полипропилен применяется в любой системе отопления.
Он подойдёт как для батарейных систем, так и для тёплого пола.
Полипропилен не подойдёт для применения в системах с перегретым теплоносителем (выше 95 °C) или высоким давлением (выше 10 атмосфер).




































